EasyManua.ls Logo

Olympus IX2-DSU - Page 38

Olympus IX2-DSU
84 pages
Print Icon
To Next Page IconTo Next Page
To Next Page IconTo Next Page
To Previous Page IconTo Previous Page
To Previous Page IconTo Previous Page
Loading...
DETAILS OF EACH OPERATION / Lamp centering
II .
DSU
II .
3-14
Page
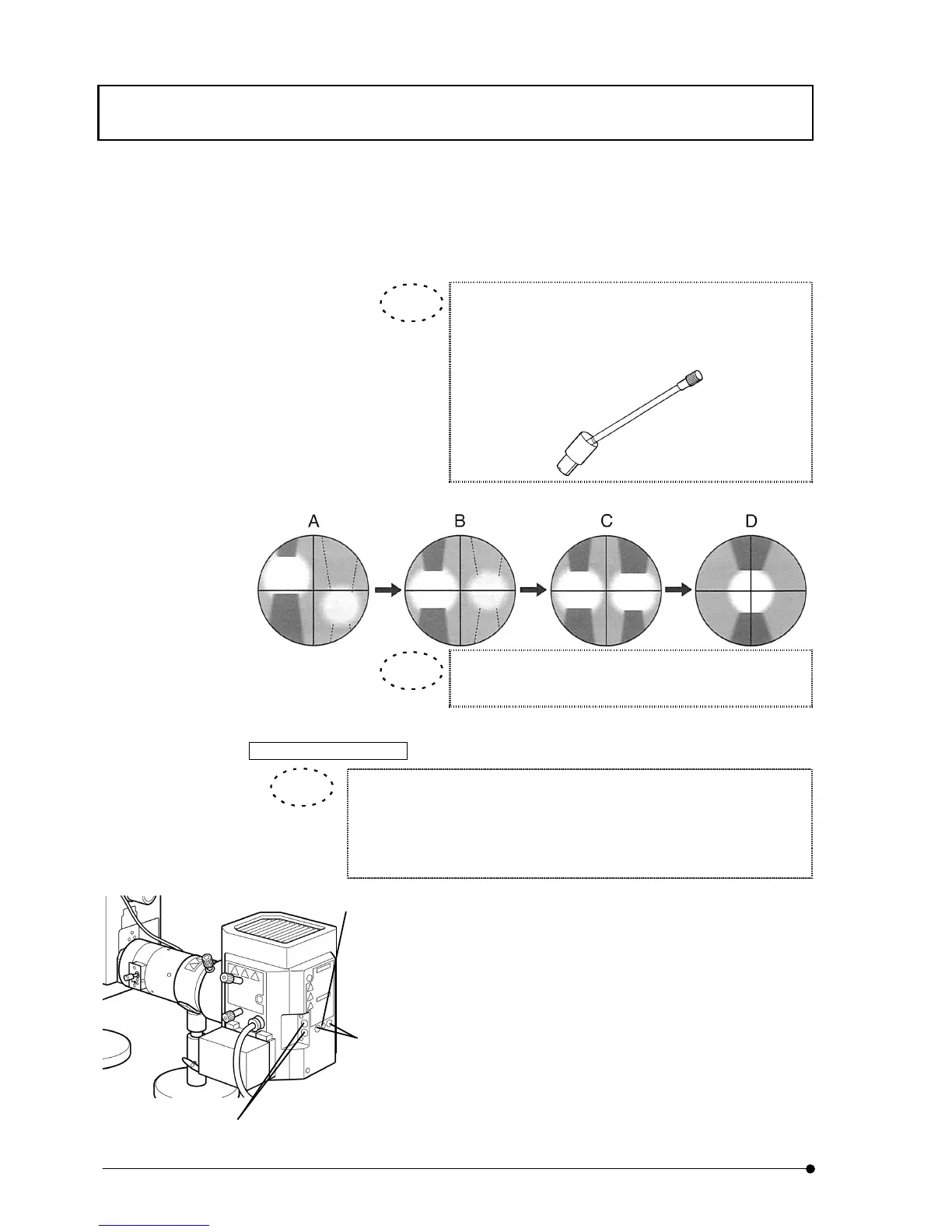
11. Turn lamp centering knob (4) and overlap arc image and
mirror arc image. (D)
When you feel that the collector lens focusing knob (3) is
hard to turn as it is located far away, insert extention
handle U-CLA (available at option) into the knob.
Lamp centering is not required until next lamp change.
Stringent mirror centering
Position of mirror is fixed after adjustment at ex-factory. When you wish
to make stringent adjustment further, excersize the following procedures
besides the procedures described in previous section. Meanwhile, note
that, after adjustment, the state at ex-factory cannot be revived.
1. Peel off blind seals (6) attached on back panel of lamp house,
using tweezers (2 places).
2. Loosen screws under the seals with use of the Allen
screwdriver. By loosening these two screws, the lock of
mirror would be released.
3. Next, peel off blind seals (7) (2 places) so that mirror
centering holes would appear.
4. Using the Allen screwdriver, adjust centering of mirror arc
image through these holes.
TIP
TIP
TIP
(6)
(7)
(5)

Table of Contents

Related product manuals