EasyManua.ls Logo

Omnicomm Optim 3.0 - Page 14

Omnicomm Optim 3.0
Print Icon
To Next Page IconTo Next Page
To Next Page IconTo Next Page
To Previous Page IconTo Previous Page
To Previous Page IconTo Previous Page
Loading...
RU
13
Электронная версия
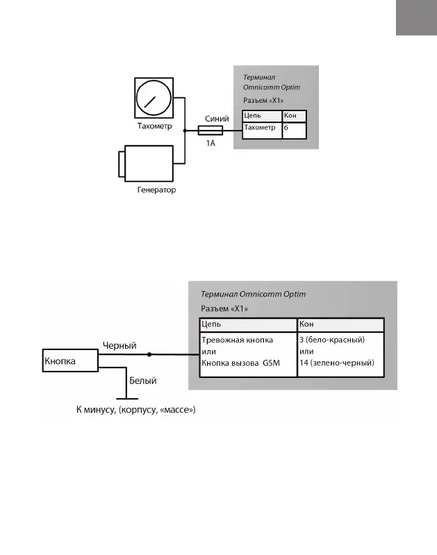
Подключение к тахометру
Подключение тревожной кнопки и кнопки вызова GSM
Рисунок 6. Схема подключения к тахометру
Рисунок 7. Схема подключения тревожной кнопки и кнопки вызова GSM

Related product manuals