EasyManua.ls Logo

Omnicomm Optim 3.0 - Page 16

Omnicomm Optim 3.0
Print Icon
To Next Page IconTo Next Page
To Next Page IconTo Next Page
To Previous Page IconTo Previous Page
To Previous Page IconTo Previous Page
Loading...
RU
15
Электронная версия
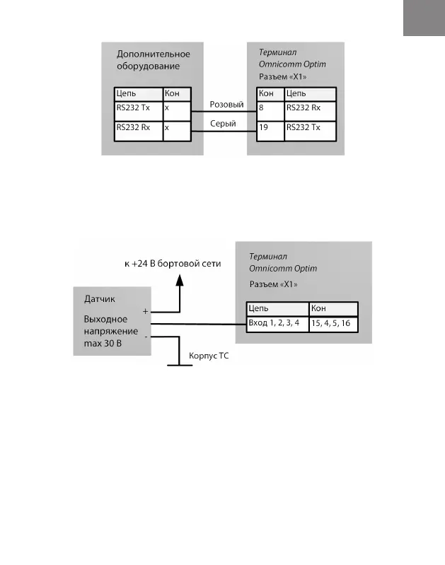
Подключение дополнительного оборудования
к универсальным входам
Рисунок 10. Схема подключения оборудования по интерфейсу RS-232
Рисунок 11. Схема подключения аналогового датчика с выходом напряжения (для
датчиков, у которых напряжение 24 В входит в диапазон питания)

Related product manuals