EasyManua.ls Logo

Omron Q2A-A4031-AAA - Knock-Out Hole Dimensions (UL Type 1); 4002 To 4023

Omron Q2A-A4031-AAA
844 pages
To Next Page IconTo Next Page
To Next Page IconTo Next Page
To Previous Page IconTo Previous Page
To Previous Page IconTo Previous Page
Loading...
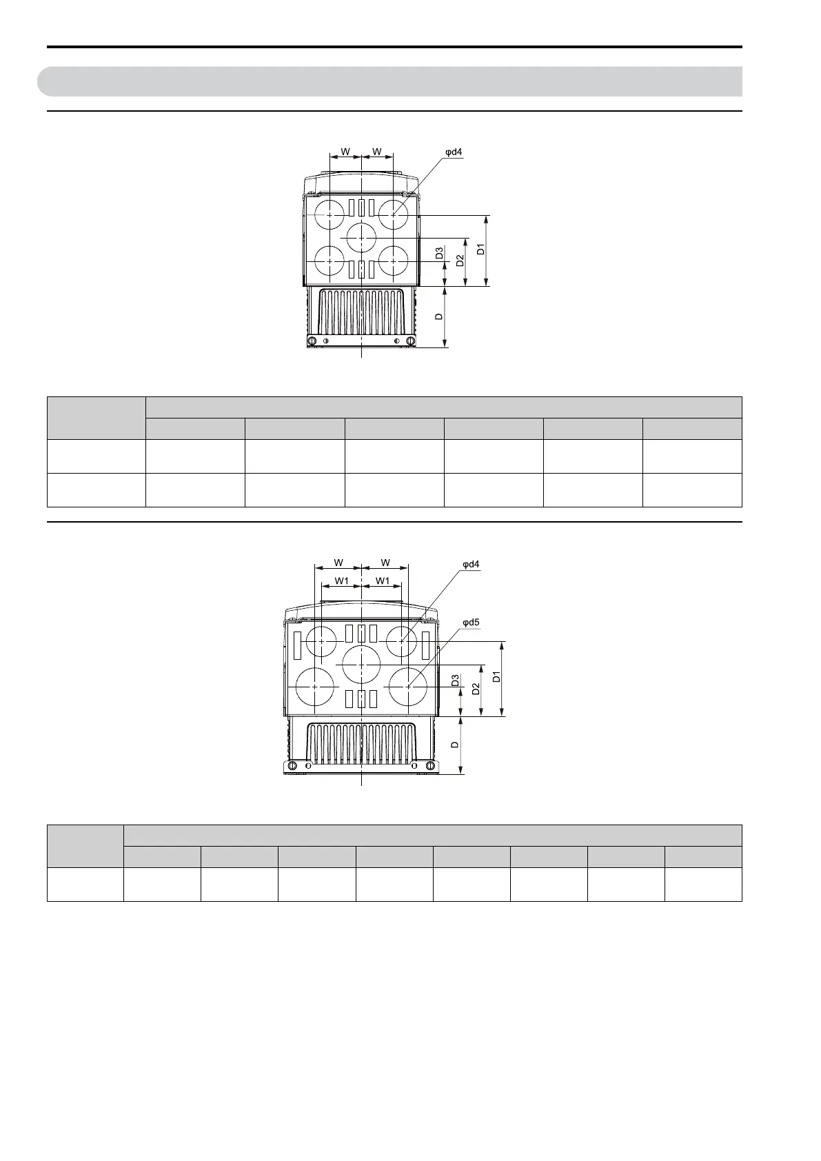
10.7 Knock-Out Hole Dimensions (UL Type 1)
384 SIEPYEUOQ2A01A AC Drive Q2A Technical Manual
10.7 Knock-Out Hole Dimensions (UL Type 1)
4002 to 4023
Figure 10.18 Knock-Out Dimensions Diagram 1 (Models: 4002 to 4023)
Model
Dimensions mm (in.)
D D1 D2 D3 W φd4
4002 to 4005
39
(1.54)
85
(3.35)
57.5
(2.26)
30
(1.18)
38.2
(1.50)
35
(1.38)
4007 to 4023
74
(2.91)
85
(3.35)
57.5
(2.26)
30
(1.18)
38.2
(1.50)
35
(1.38)
4031, 4038
Figure 10.19 Knock-Out Dimensions Diagram 2 (Models: 4031, and 4038)
Model
Dimensions mm (in.)
D D1 D2 D3 W W1 φd4 φd5
4031, 4038
67.5
(2.66)
86.5
(3.41)
60
(2.36)
34
(1.34)
54
(2.13)
46.5
(1.83)
35
(1.38)
44
(1.73)

Table of Contents

Other manuals for Omron Q2A-A4031-AAA

Related product manuals