EasyManua.ls Logo

Omron Q2A-A4031-AAA - Page 724

Omron Q2A-A4031-AAA
844 pages
To Next Page IconTo Next Page
To Next Page IconTo Next Page
To Previous Page IconTo Previous Page
To Previous Page IconTo Previous Page
Loading...
12.7 H: TERMINALS
724 SIEPYEUOQ2A01A AC Drive Q2A Technical Manual
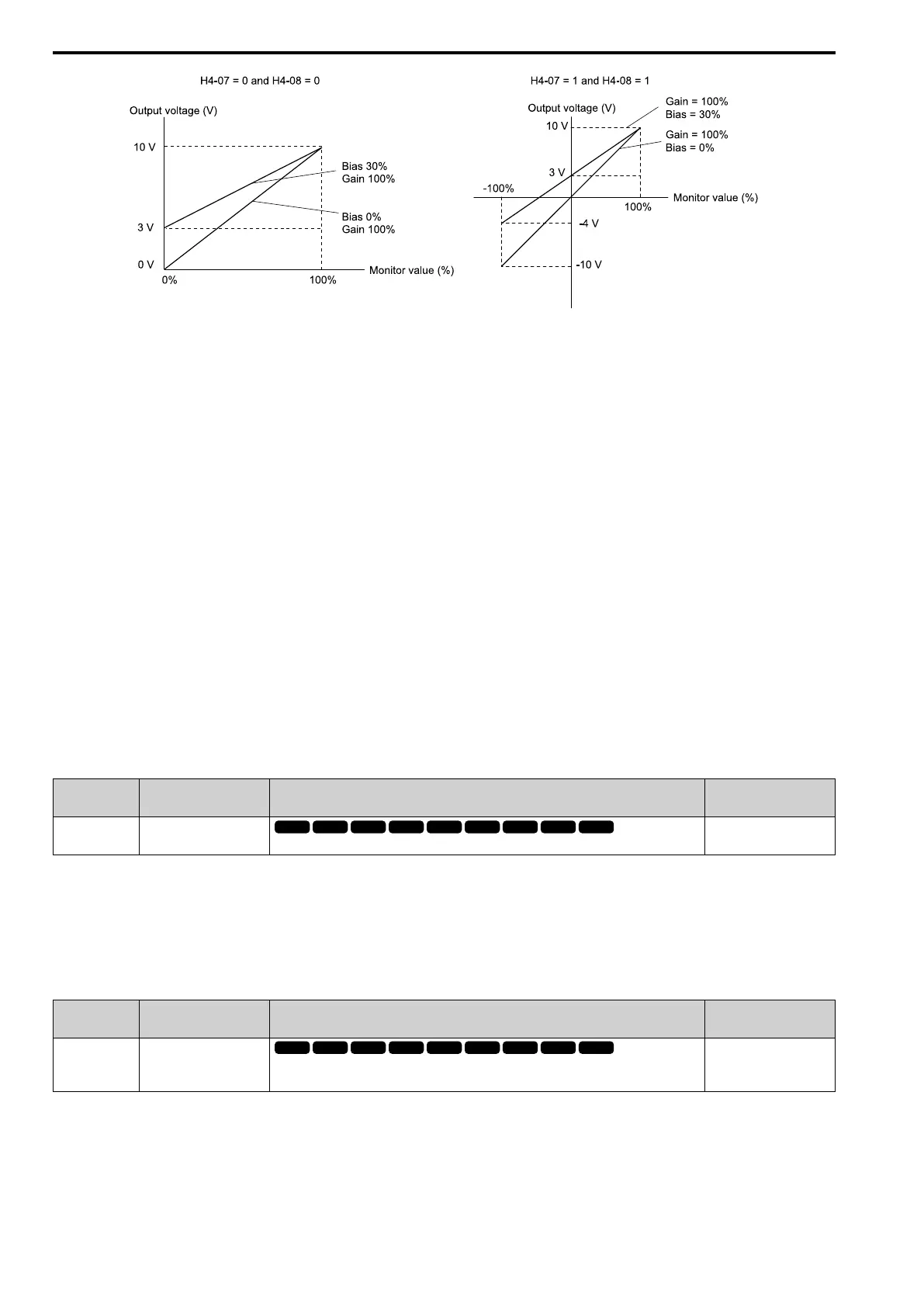
Figure 12.108 Analog Output Gain/Bias Configuration Example 2
Calibrate Terminal AO1
Stop the drive to calibrate meters. Use this procedure to calibrate:
1. Show H4-02 [AO1 An.Out Gain] on the keypad.
Terminal AO1 outputs the analog signal when the monitor item that you set in H4-01 [AO1 An.Out Select] is
100%.
2. Adjust H4-02 and monitor the meter scale connected to terminal AO1.
3. Show H4-03 [AO1 An.Out Bias] on the keypad.
The analog signal at the time when the monitor item selected with H4-01 is 0% is output from terminal AO1.
4. Adjust H4-03 while referencing the meter scale connected to terminal AO1.
Calibrate Terminal AO2
Stop the drive to calibrate meters. Use this procedure to calibrate:
1. Show H4-05 [AO2 An.Out Gain] on the keypad.
Terminal AO2 outputs the analog signal when the monitor item that you set in H4-04 [AO2 An.Out Select] is
100%.
2. Adjust H4-05 and monitor the meter scale connected to terminal AO2.
3. Show H4-06 [AO2 An.Out Bias] on the keypad.
Terminal AO2 outputs the analog signal when the monitor item that you set in H4-04 [AO2 An.Out Select] is
0%.
4. Adjust H4-03 and monitor the meter scale connected to terminal AO1.
H4-01 AO1 An.Out Select
No.
(Hex.)
Name Description
Default
(Range)
H4-01
(041D)
AO1 An.Out Select
Sets the monitor number to send from MFAO terminal AO1.
102
(000 - 999)
Set the x-xx part of the U: MONITORS. For example, set H4-01 to 102 to monitor U1-02 [Output Frequency].
Note:
The configurable monitor changes when the control method changes.
To use in through mode, set this parameter to 000 or 031. You can set the terminal AO1 output level from the PLC through Modbus
communications or the communication option.
H4-02 AO1 An.Out Gain
No.
(Hex.)
Name Description
Default
(Range)
H4-02
(041E)
RUN
AO1 An.Out Gain
Sets the gain of the monitor signal that is sent from MFAO terminal AO1.
100.0%
(-999.9 - +999.9%)
The analog signal output from the AO1 terminal is a maximum of ±10 V (or 20 mA). Select the signal level with
H4-07 [AO1 Signal Level Select].

Table of Contents

Other manuals for Omron Q2A-A4031-AAA

Related product manuals