EasyManua.ls Logo

Panasonic AW-E750E - Page 23

Panasonic AW-E750E
412 pages
Print Icon
To Next Page IconTo Next Page
To Next Page IconTo Next Page
To Previous Page IconTo Previous Page
To Previous Page IconTo Previous Page
Loading...
ENGLISH
- 22 (E) -
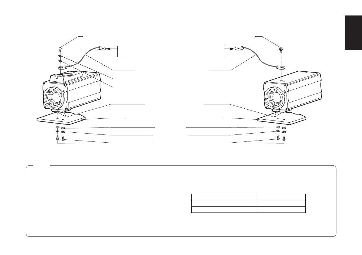
p Example of mounting the camera onto a bracket or tripod made by another manufacturer
Secure the end of the wire onto the M6 anchor bolts by
tightening nut or secure it by tightening the M6 bolts.
Mounting screw for wire (M4) (supplied)
Drop-prevention wire (sold separately)
Bracket or tripod made by another manufacturer [*]
Camera mounting screw holes
Flat washers [*]
Flat washer (supplied)
Spring washer (supplied)
Spring washers [*]
Mounting screw for wire (supplied)
(Inch screw: 1/4-20UNC)
AW-E750/AW-E655
AW-E650/AW-E350
( The mounting method shown in the illustration
above is for the AW-E650 and AW-E350.
The same method is used for both models.)
[*]: Procured locally
Mounting screws [*]
(Inch screws: 1/4-20UNC)
Notes
p When installing the mounting bracket or attaching one end of the
drop-prevention wire to the ceiling or a wall, be absolutely sure to
use the anchor bolts, and ensure that the withdrawal strength of the
installation surface is at least ten times the total mass of all units
installed, including the mounting bracket, camera, lens, and cables.
p When the camera has been attached to a tripod as well, be absolutely
sure to prevent the camera from falling off by using the screw in the
tripod or other such means.
p When mounting the camera on a surface above the camera, do not
block the ventilation holes of the cooling fan.
p Ensure that the total mass, including the mounting bracket, camera,
lens and cables, does not exceed 8 kg.
p Ensure that a drop-prevention wire is installed in such a way that the
drop distance does not exceed 150 mm.
p Tighten the mounting screws using the torque levels shown in the
table to the below, and then check for play and unsteadiness.
p Do not use an impact driver as doing so may cause damage to the
screws.
Screws Clamping torque
Mounting screws (M4) 1.5 N • m (15 kgf • cm)
Mounting screws (Inch screws) 2.0 N • m (20 kgf • cm)

Table of Contents

Related product manuals