EasyManua.ls Logo

Panasonic BB-HCM511A - Technical Descriptions; CPU Peripheral Block

Panasonic BB-HCM511A
97 pages
Print Icon
To Next Page IconTo Next Page
To Next Page IconTo Next Page
To Previous Page IconTo Previous Page
To Previous Page IconTo Previous Page
Loading...
10
BB-HCM511A/BB-HCM531A
4 Technical Descriptions
4.1. CPU Peripheral Block
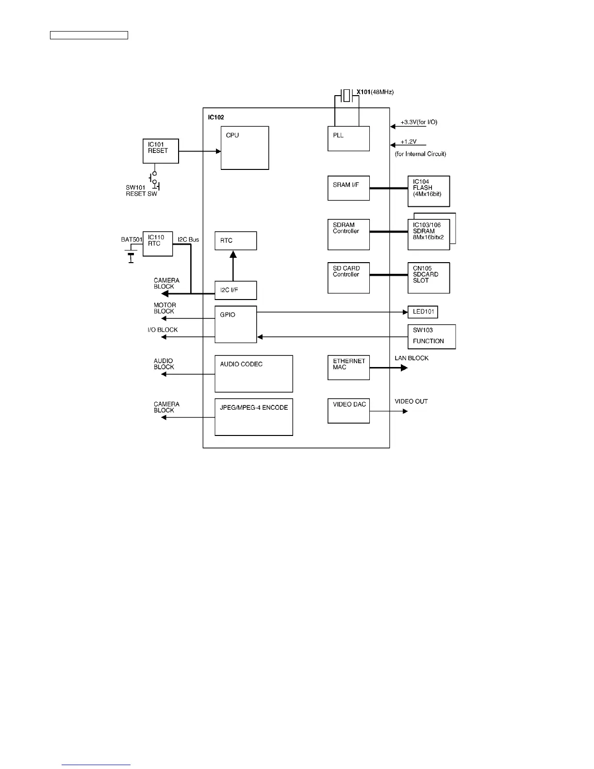
The IC102 is a system LSI for a network camera containing the CPU
The power supply voltages are +3.3V (I/O) and +1.2V(inside).
The CPU is performs mainly hardware control, TCP/IP protocol processing and applications such as http and FTP.
The clock setting is 27MHz, 48MHz, 57MHz and 108MHz by inside, which multiphy 48MHz oscillation in the X101 by PLL.
There are two types of external bus: the General-purpose bus and the bus for SDRAM only.
The General bus is connected to a Flash Memory for program storage.
The capacity of the Flash Memory (IC104) is 64Mbit (4Mx16bit); the program, the setting information for the network camera and
the MAC address are stored.
Two SDRAMs (IC103/106) of 128Mbit (8Mx16bit) are used, which are connected to CPU with bus width of 32bit, and are avail-
able for CPU processing work, storage of communication data, and storage of audio/image data.
The RESET IC (IC101) monitors the power supply voltage, detects the rising edge of +3.3V and generates the Hardware Reset
Signal.
RESET SW (SW101) is connected to RESET IC for a manual reset, and hardware is reset when this SW is pressed.
IC110 is RTC (Real Time Clock), and is used for time setting of image transfer, etc. This is backed up by a lithium battery on the
IO board (BAT501) even at the time of power OFF. I2C Bus is used as I/F with CPU.
There is an RTC block inside IC102, and this inside RTC block operates during the existence of electricity by importing the clock
data from IC110 at the time of power ON.
IC102 is equipped with the GPIO terminal, which is used for motor control, IO terminal control, etc.
An SD memory card control block is included on IC102, and used by connecting an SD card slot (CN105).
There is a green LED (LED101) near the SD card slot, and it lights while the SD card is being accessed.
When LED101 is turned off by pressing the FUNCTION switch and the access to the SD card, the SD card can be safely pulled
out.

Table of Contents

Other manuals for Panasonic BB-HCM511A

Related product manuals