EasyManua.ls Logo

Panasonic BB-HCM511A - PoE Block

Panasonic BB-HCM511A
97 pages
Print Icon
To Next Page IconTo Next Page
To Next Page IconTo Next Page
To Previous Page IconTo Previous Page
To Previous Page IconTo Previous Page
Loading...
16
BB-HCM511A/BB-HCM531A
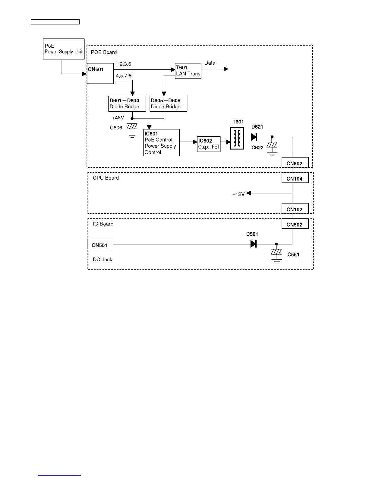
4.8. PoE Block
[Power receive]
The power supplied from a LAN cable receives voltage (48 V) via a diode bridge from a RJ-45 connector (CN601) on the PoE
Board.
There are 2 types of PoE receiving methods; a type using unused pins (4, 5, 7 and 8 pin) for LAN data transmission and a type
using the mid point of data lines (1, 2, 3 and 6 pin). This product is compatible with both types because it is equipped with 2 lines
(D601 - D604 and D605 - D608) of diode bridge circuits
The outputs of the 2 diode bridges described above are connected to the same poles and supply the subsequent circuits + and -
powers.
[PD certification circuit]
The voltage obtained from the diode bridges is supplied to the PD control IC (IC602) of PoE.
The IC601 performs the following operations with the applied voltage from the supply side of power.
For applied voltage of 2.8 - 10 V from the supply side, it returns the internal resistance value of IC601 (25 kΩ).
For applied voltage of 15.5 - 20.5 V from the supply side, it returns the current value by the resistor connected to the Pin (5) of
IC602. (This product is resistance value (open) and it is designed with Class 0 specification.)
When 48 V is applied as the certification progresses, it conducts between the Pins 7 and 10.
[Voltage drop section]
When the power of 48V is supplied to the following DC/DC converter section based on the PD authentication, voltage is con-
verted by control IC (IC601), output FET (IC602), switching transformer (T601), rectification diode, and capacitor (C622), which
results in output of +12V.
[Switching with AC adaptor]
There is a DC jack (CN501), to which an AC adaptor is connected when POE is not used, and +12V is input from the AC adap-
tor. Switching of +12V from the PoE circuit is conducted by using diodes (D621, D501).

Table of Contents

Other manuals for Panasonic BB-HCM511A

Related product manuals