EasyManua.ls Logo

Panasonic BB-HCM511A - Power Supply Block Check

Panasonic BB-HCM511A
97 pages
Print Icon
To Next Page IconTo Next Page
To Next Page IconTo Next Page
To Previous Page IconTo Previous Page
To Previous Page IconTo Previous Page
Loading...
29
BB-HCM511A/BB-HCM531A
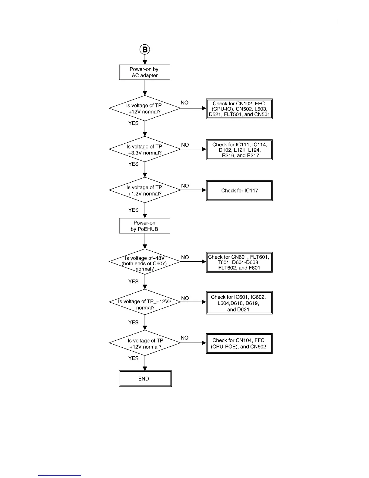
7.3. Power Supply Block Check

Table of Contents

Other manuals for Panasonic BB-HCM511A

Related product manuals