EasyManua.ls Logo

Panasonic BB-HCM511A - Pan and Tilt Motor Control Circuit; Power Supply Block

Panasonic BB-HCM511A
97 pages
Print Icon
To Next Page IconTo Next Page
To Next Page IconTo Next Page
To Previous Page IconTo Previous Page
To Previous Page IconTo Previous Page
Loading...
15
BB-HCM511A/BB-HCM531A
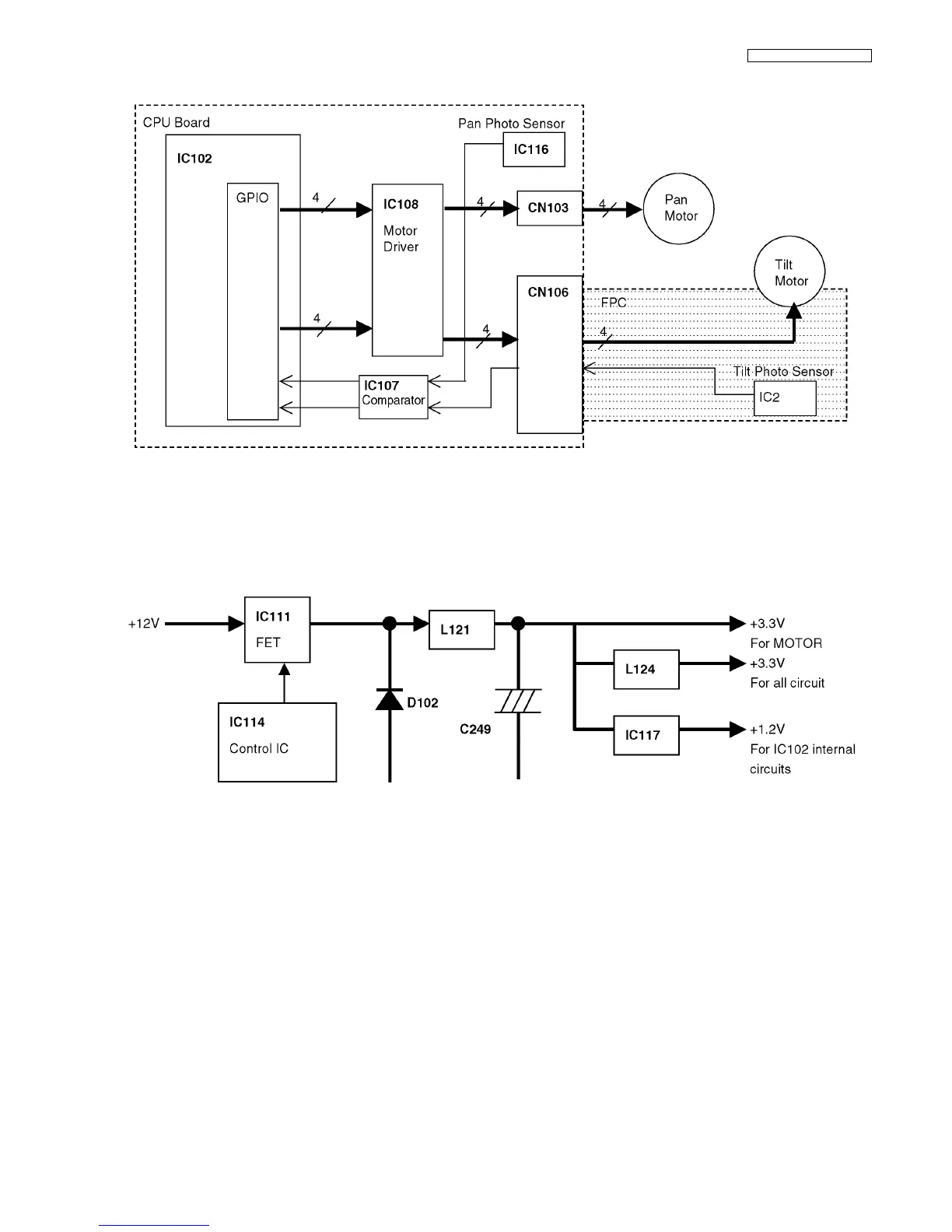
4.6. Pan and Tilt Motor Control Circuit
Pan and tilt are conducted by controlling the motor driver (IC108) using the signal from GPIO inside of IC102, which is mounted
on the CPU board. Also, detection of a home position for operating the pan and tilt are done with the pan photo sensor (IC116
on the CPU board) and the tilt photo sensor (IC2 on the FPC board). This detected signal is transmitted to GPIO at IC102 after
being shaped at IC107.
4.7. Power Supply Block
+3.3V is brought about by the power supply of +12V from the PoE (Power over Ethernet) circuit on the PoE board via the DC-DC
converter circuit composed of IC114, IC111.D102, L121, and C249.
+1.2V for an internal circuit of IC102 is generated by the series regulator (IC117).

Table of Contents

Other manuals for Panasonic BB-HCM511A

Related product manuals