EasyManua.ls Logo

Panasonic KX-FLB802CX - Page 287

Panasonic KX-FLB802CX
323 pages
Print Icon
To Next Page IconTo Next Page
To Next Page IconTo Next Page
To Previous Page IconTo Previous Page
To Previous Page IconTo Previous Page
Loading...
287
KX-FLB802CX/KX-FLB812CX/KX-FLB802CXS/KX-FLB812CXS
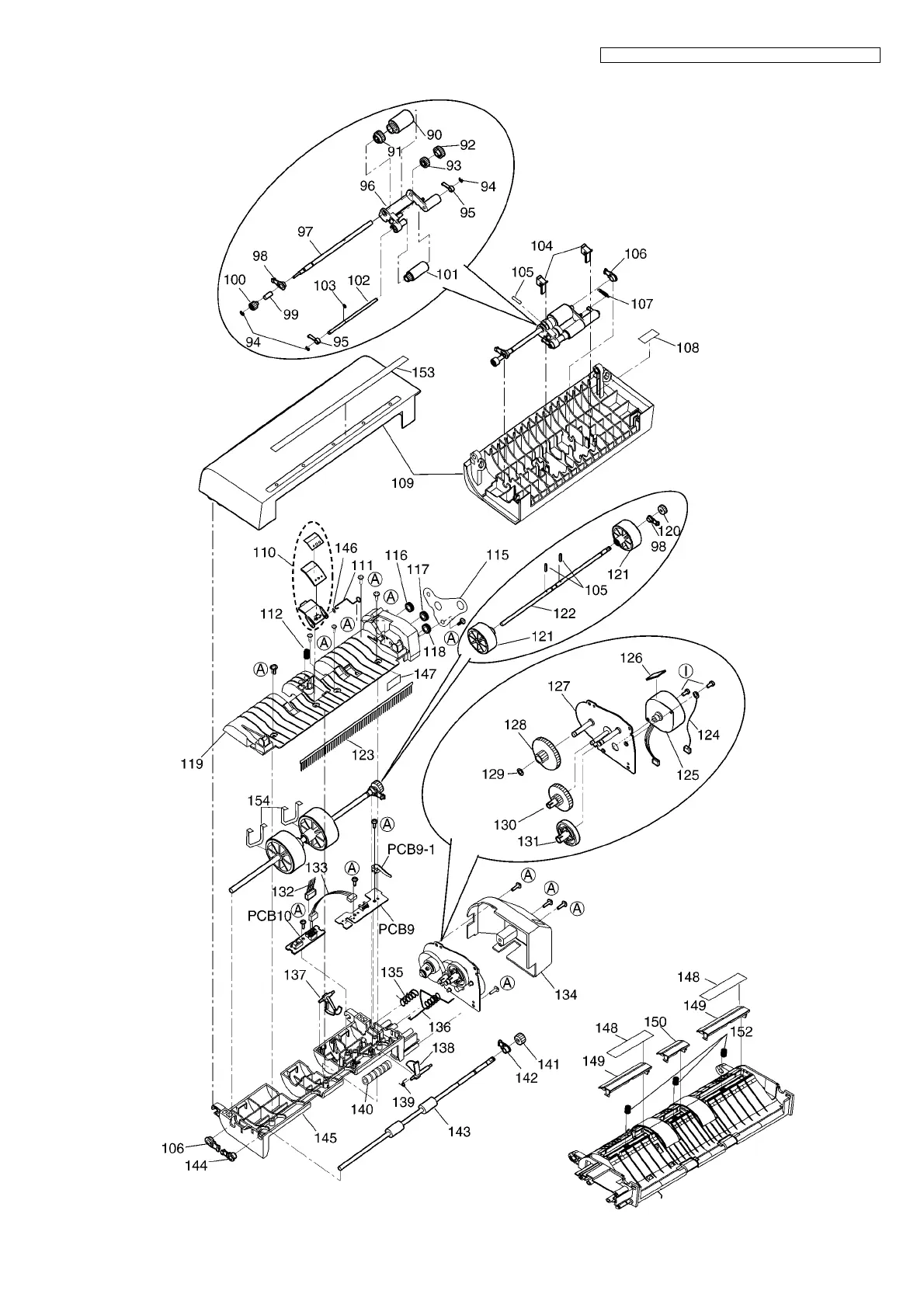
19.1.3. ADF SECTION

Table of Contents

Related product manuals