EasyManua.ls Logo

Panasonic KX-FLB802CX - Solenoid Drive Section

Panasonic KX-FLB802CX
323 pages
Print Icon
To Next Page IconTo Next Page
To Next Page IconTo Next Page
To Previous Page IconTo Previous Page
To Previous Page IconTo Previous Page
Loading...
46
KX-FLB802CX/KX-FLB812CX/KX-FLB802CXS/KX-FLB812CXS
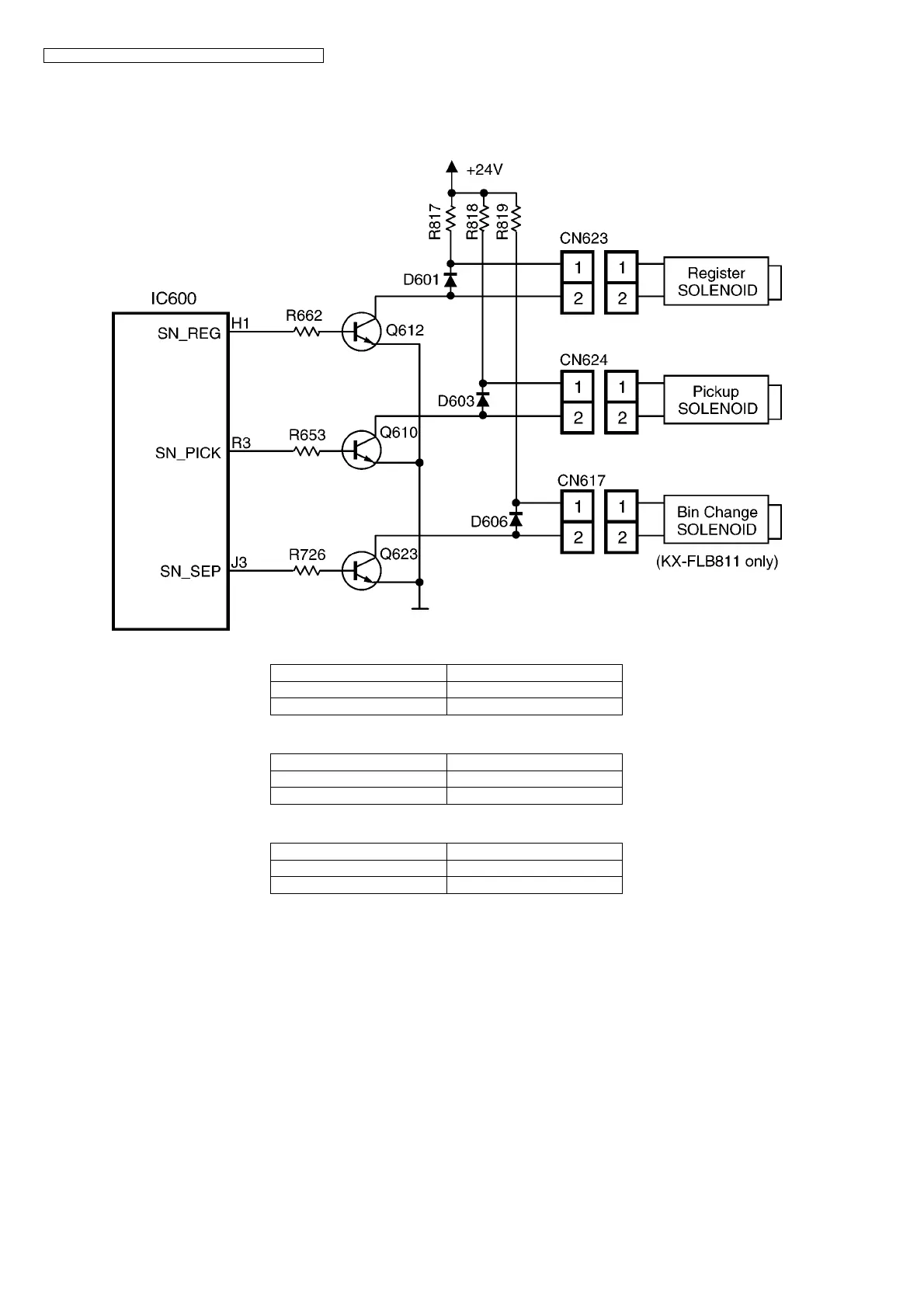
6.11. SOLENOID DRIVE SECTION
The solenoid drive circuit controls Register Solenoid, Pick up Solenoid and Bin Change Solenoid.
The solenoids are designed to be driven by +24V.
The diodes protect transistors from reverse generated voltage when solenoids are turned off.
REGISTER
PICKUP
BIN CHANGE
MODE IC600_H1
Solenoid ON High level
Solenoid OFF Low level
MODE IC600_R3
Solenoid ON High level
Solenoid OFF Low level
MODE IC600_J3
Solenoid ON High level
Solenoid OFF Low level

Table of Contents

Related product manuals