EasyManua.ls Logo

Panasonic KX-TCD420E - Intercom

Panasonic KX-TCD420E
48 pages
Print Icon
To Next Page IconTo Next Page
To Next Page IconTo Next Page
To Previous Page IconTo Previous Page
To Previous Page IconTo Previous Page
Loading...
32
Intercom
Intercom between Handsets
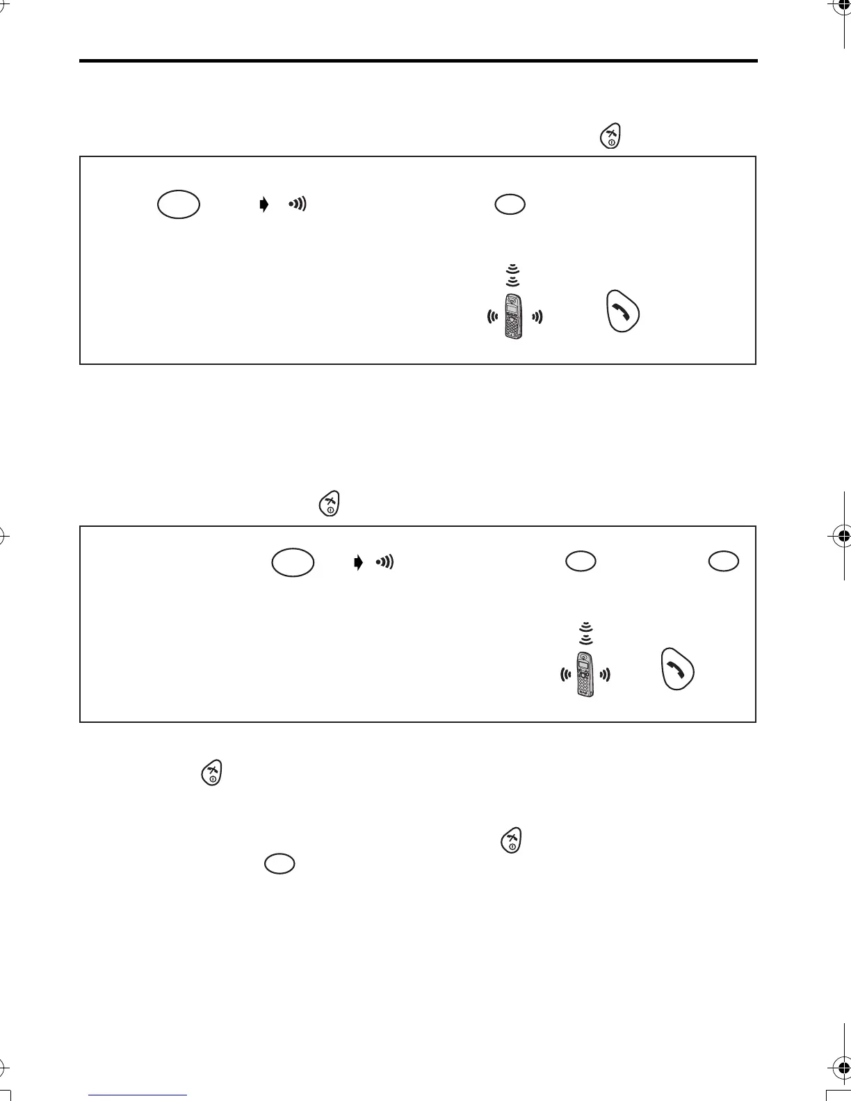
You can use your handsets as a 2-way intercom.
For example, when Handset 1 calls Handset 2. To hang up, press .
Intercom calls can be conducted within the radio cell of the current base unit, but not
with units in neighbouring radio areas.
Transferring a Call to Another Handset/Conference Call
Intercom can be used during a call to transfer an external call between handsets that are
registered to the same base unit. For example, when handset 1 transfers a call to
Handset 2. To hang up, press .
*1 You can also press any dialling button, INTERCOM,
t
or
x
.
*2 If you press after pressing desired handset number, a call can be transferred to
another handset without speaking to another handset.
If the transferred call is not answered within 30 seconds, Handset 1 will ring again.
*3 When Handset 2 answers a call transferred, press to complete a call transfer or
press dialling button to establish the conference call.
Press TALK.*1
<Handset 1>
Press INTERCOM.
Press desired
Handset Number.
( on the display)
INT
<Handset 2>
2
12
3
Press TALK.*1
<Handset 1>
(During a call)
<Handset 2>
Press INTERCOM.
Press desired
Handset Number.*2
*3
( on the display)
INT
2
12
3
4
3
3
420E.book Page 32 Thursday, March 20, 2003 7:41 PM

Related product manuals