EasyManua.ls Logo

Panasonic SA-PMX100 - Disassembly Flow Chart; Type of Screws

Panasonic SA-PMX100
74 pages
Print Icon
To Next Page IconTo Next Page
To Next Page IconTo Next Page
To Previous Page IconTo Previous Page
To Previous Page IconTo Previous Page
Loading...
20
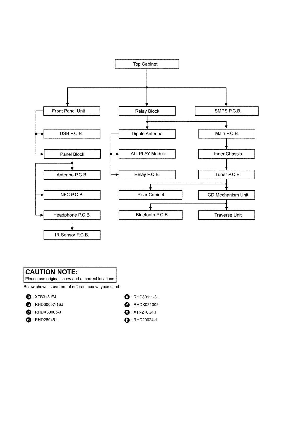
8.1. Disassembly flow chart
The following chart is the procedure for disassembling the casing and inside parts for internal inspection when carrying out the ser-
vicing.
To assemble the unit, reverse the steps shown in the chart below.
8.2. Type of screws

Table of Contents

Related product manuals