EasyManua.ls Logo

PEERLESS PUREFIRE PF-850 - Page 6

PEERLESS PUREFIRE PF-850
100 pages
Print Icon
To Next Page IconTo Next Page
To Next Page IconTo Next Page
To Previous Page IconTo Previous Page
To Previous Page IconTo Previous Page
Loading...
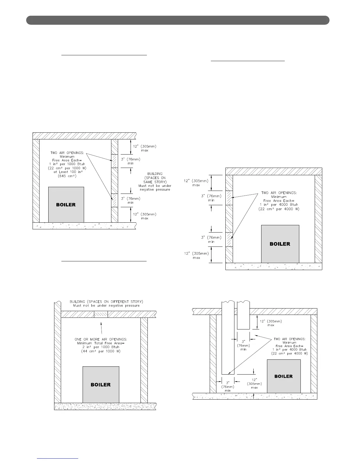
4. Indoor Air Opening Size and Location: Openings
connecting indoor spaces shall be sized and located as
follows:
a. Combining Spaces on the Same Floor
: Provide
two permanent openings communicating with
additional spaces that have a minimum free area
of 1 in
2
per 1000 Btu/hr (22 cm
2
per 1000 W) of
the total input rating of all gas fired equipment but
not less than 100 in
2
(645 cm2). One opening is
to begin within 12 inches (305 mm) from the top
of the space and the other is to begin within 12
inches (305 mm) from the floor. The minimum
dimension of either of these openings shall be 3
inches (76 mm). See Figure 1.2 for an illustration
of this arrangement.
b. Combining Spaces on Different Floors
: Provide
one or more permanent openings communicating
with additional spaces that have a total minimum
free area of 2 in
2
per 1000 Btu/hr (44 cm
2
per
1000 W) of total input rating of all equipment. See
Figure 1.3 for an illustration of this arrangement.
5. Outdoor Combustion Air: Outdoor combustion air is
to be provided through one or two permanent
openings. The minimum dimension of these air
openings is 3 inches (76 mm).
a. Two Permanent Opening Method
: Provide two
permanent openings. One opening is to begin
within 12 inches (305 mm) of the top of the
space and the other is to begin within 12 inches
(305 mm) of the floor. The openings are to
communicate directly or by ducts with the
outdoors or with spaces that freely communicate
with the outdoors. The size of the openings shall
be determined as follows:
i. Where communicating directly or through
vertical ducts with the outdoors each opening
shall have a minimum free area of 1 in
2
per
4000 Btu/hr (22 cm
2
per 4000 W) of total input
rating for all equipment in the space. See Figure
1.4 for openings directly communicating with
the outdoors or Figure 1.5 for openings
connected by ducts to the outdoors.
4
Figure 1.4: Air Openings – All Air Directly from
Outdoors
Figure 1.5: Air Openings – All Air from Outdoors
through Vertical Ducts
PREINSTALLATION
Figure 1.2: Air Openings – All Air from Indoors
on the Same Floor
Figure 1.3: Air Openings – All Air from Indoors
on Different Floors

Table of Contents

Related product manuals