EasyManua.ls Logo

PEERLESS SmartMount SA750P - Installation Et Retrait de Lécran Plat; Réglage de Lécran Plat

PEERLESS SmartMount SA750P
42 pages
Print Icon
To Next Page IconTo Next Page
To Next Page IconTo Next Page
To Previous Page IconTo Previous Page
To Previous Page IconTo Previous Page
Loading...
41 of 42
ISSUED: 03-08-07 SHEET #: 095-9264-1
5
Installation et retrait de l’écran plat
Réglage de l’écran plat
BOUTON DE
TENSION
VIS
M5 X 25 MM
VUE DU
BAS
Ne soulevez pas plus que votre capacité. Faites-vous aider par une autre personne ou utilisez un système de levage
mécanique pour effectuer une installation de l’écran en toute sécurité.
Si le patin de frein n’est pas verrouillé avec deux vis M5 x 20 mm et si le support d’inclinaison n’est pas verrouillé
avec la vis M5 x 25 mm, l’écran peut se détacher du montant s’il est heurté accidentellement.
AVERTISSEMENT
fig. 5.1
DÉTAIL 5
PLAQUE ADAPTATRICE
PATIN DE FREIN
SUPPORT
D’INCLINAISON
VIS M5 X 20 MM (QTÉ. 2)
VIS M5 X 25 MM
A
CURSEUR
Ne serrez pas les vis de façon excessive.
Veillez à ne pas vous pincer les doigts lors de l’ouverture et de la
fermeture du montant sur le mur.
PRUDENCE
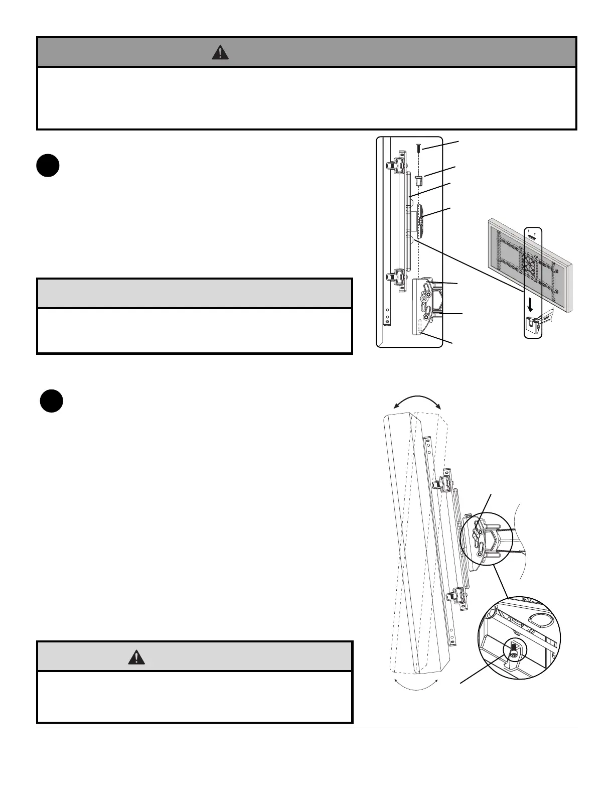
Pour attacher l’écran au bras (A), insérez le curseur de la plaque
adaptatrice dans la fente du support d’inclinaison comme illustré à la
Figure 5.1. Attachez le patin de frein comme illustré dans le Détail 5 de
façon à ce qu’il soit bien contre la plaque adaptatrice. Réglez la
position de pivotement de la plaque adaptatrice pour mettre l’écran de
niveau et verrouillez le curseur en position en serrant la vis M5 x 25
mm sous le support d’inclinaison à l’aide d’une clé hexagonale de 4 m
(N). Serrez toutes les vis (M5 x 20 mm, M5 x 25 mm). REMARQUE :
Pour retirer l’écran du bras (A), retirez deux vis M5 x 20 mm et le patin
du frein. Relevez l’écran du support d’inclinaison.
6
POUR UNE ORIENTATION DE L’ÉCRAN EN MODE PAYSAGE OU
PORTRAIT : Retirez les deux vis M5 x 20 mm et le patin de frein.
Relevez l’écran du support d’inclinaison. Faites tourner l’écran à la
position souhaitée (paysage ou portrait). Insérez le curseur de la
plaque adaptatrice dans la fente du support d’inclinaison comme
illustré à la Figure 5.1. Attachez le patin de frein au support
d’inclinaison à l’aide de deux vis M5 x 20 mm comme illustré dans le
Détail 5. Serrez toutes les vis (M5 x 20 mm, M5 x 25 mm).
Réglage de l’INCLINAISON : Réglez le bouton de tension d’un
côté du montant à la tension désirée pour permettre de régler
l’inclinaison et équilibrer le poids et la taille de l’écran. Poussez ou
tirez depuis le haut ou le bas de l’écran pour régler l’inclinaison
comme illustré. L’inclinaison peut être réglée à un maximum de 10°
vers l’avant ou de 5° vers l’arrière. Resserrez le bouton de tension.
Réglage du PIVOTEMENT : Faites tourner l’écran de 5° dans le
sens horaire ou antihoraire, mettez l’écran à niveau e serrer la vis M5
x 25 mm avec une clé hexagonale de 4 mm (N) comme illustré dans
la vue du bas.
Ne serrez pas les vis de façon excessive. Un serrage excessif
peut endommager le montant. Serrez les vis M5 x 20 mm à un
couple maximal de 20 po-lb (2,26 N.m).
PRUDENCE

Related product manuals