EasyManua.ls Logo

Perry Electric TE541 - Start the Thermostat; Use of the Thermostat; Setting the T Set Temperature of the Current Level

Perry Electric TE541
28 pages
Print Icon
To Next Page IconTo Next Page
To Next Page IconTo Next Page
To Previous Page IconTo Previous Page
To Previous Page IconTo Previous Page
Loading...
To select the and change the T set,desired temperature level
see the next paragraph.
6 - START THE THERMOSTAT
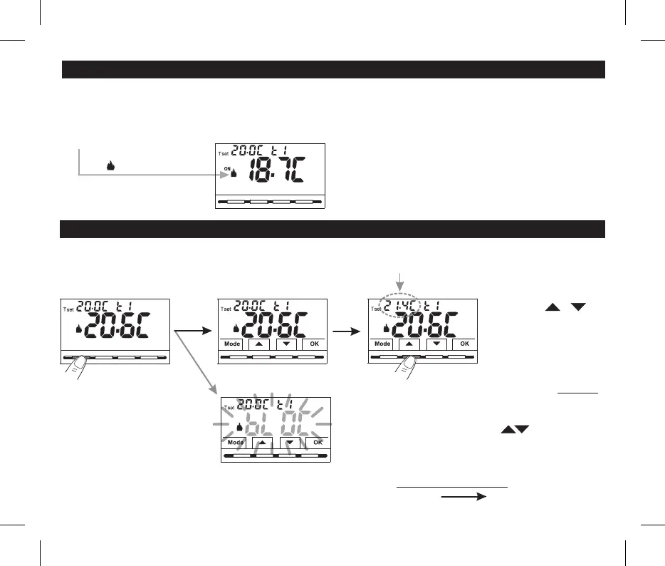
Winter mode (heating)
ON + = e.g. operating boiler
The thermostat is operational, it shows on the display:
the “heating” mode, the Temperature Set t1Winter
(Co fort) at 20°C, the detected room temperature.n
The first time mains voltage is engaged, the thermostat performs a lamp-test by switching on all display segments, displaying
the installed software version for a few seconds.
When this phase is over, the thermostat displays the normal operation screen.
7 - USE OF THE THERMOSTAT
Normal operation
7.1 - SETTING THE “T SET” TEMPERATURE OF THE CURRENT
LEVEL
in the absence of temperature locks, it will be possible to
change directly by pressing the keys the new current
T set value will be saved automatically.
results in a change of 0.1 degrees.
Each press of or
Example: changed Set t1 (Comfort)
from 20.0°C to 21.4°C.
10
Note: if the keyboard lock is engaged
(see par. 10.12) or deactivated the
thermostat by remote contact as
described in par. 10.6.3 and 10.6.4,
when any key is pressed, the word
will appear flashing for a fewbLOC
seconds; it will not be possible to
make any changes directly from the
normal operation screen.
From normal thermostat operation in stand-by, pressing a key, the backlight activates (if not excluded) and the words selection
and navigation ( )if backlighting is not set to always on appear. Within 6 secs., a variation is made the second time the desired key
is pressed.

Other manuals for Perry Electric TE541