EasyManua.ls Logo

Pfaff ambition essential 1.0

Pfaff ambition essential 1.0
59 pages
To Next Page IconTo Next Page
To Next Page IconTo Next Page
To Previous Page IconTo Previous Page
To Previous Page IconTo Previous Page
Loading...
31
104 73 15-26
Settings
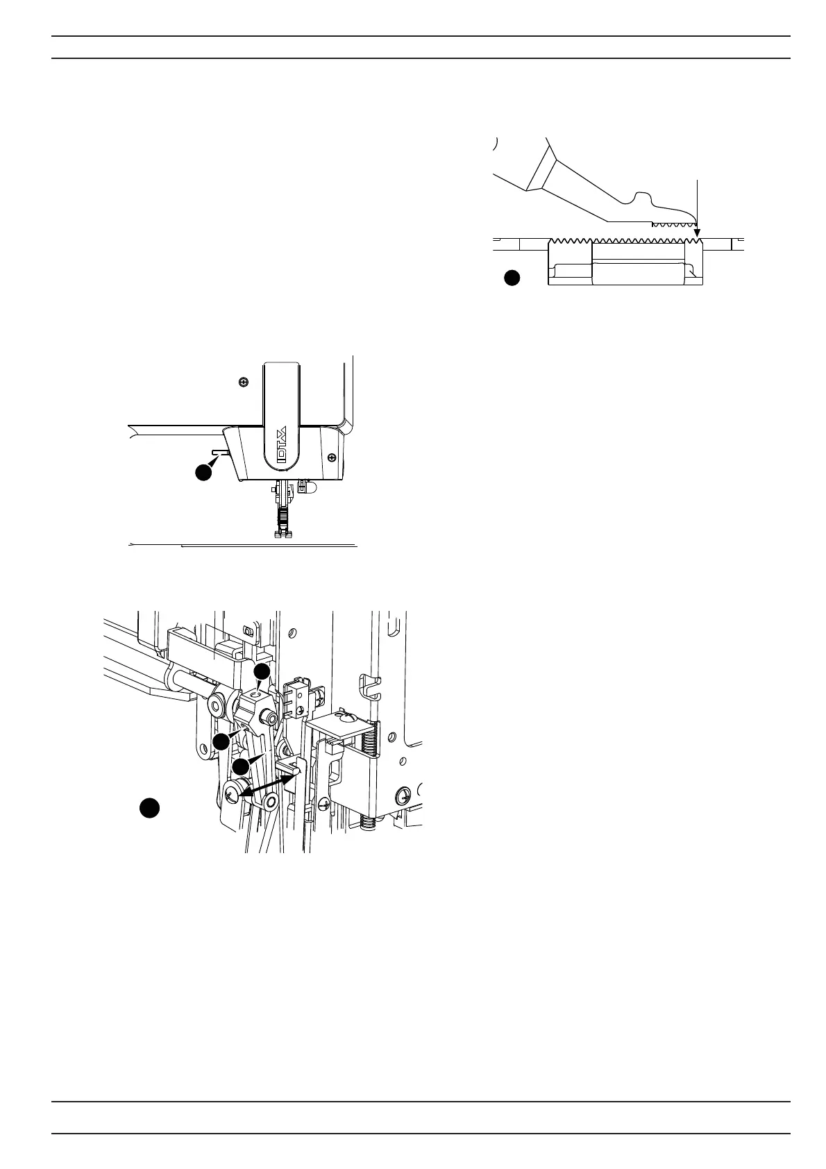
21. Adjustment of the IDT foot - feeding position
Check of feeding direction
1. Turn on the machine and set it to maximum stitch lengths.
Turn the hand wheel one full turn
2. Turn the handwheel in sewing direction until the rising feed
dog teeth is ush with the needle plate surface.
3. Remove the presser foot and presser foot holder.
4. Lower the presser bar.
5. The front edge of the IDT foot must be between the rst
and second tooth of the centre row of the feed dog.
Adjustment:
1. Raise the presser foot lever (a) and engage IDT. (1)
2. Remove the presser foot and face plate.
3. Set the feed dog ush with top surface of the needle plate.
4. Loosen the screws (b, c) on the feed crank. (2)
5. Move feed crank (d) to the front or back until the IDT front edge is between the rst and second tooth
point of the center tooth row of the feed dog. (3)
6. Tighten the screws (b, c).
a
c
2
d
b
3

Table of Contents

Related product manuals