EasyManua.ls Logo

Polyaire Zonemaster ZoneTouch V2 - Page 7

Polyaire Zonemaster ZoneTouch V2
24 pages
Print Icon
To Next Page IconTo Next Page
To Next Page IconTo Next Page
To Previous Page IconTo Previous Page
To Previous Page IconTo Previous Page
Loading...
ZONEMASTER ZONETOUCH V2 ZONE CONTROL SYSTEM - Installation Manual
5
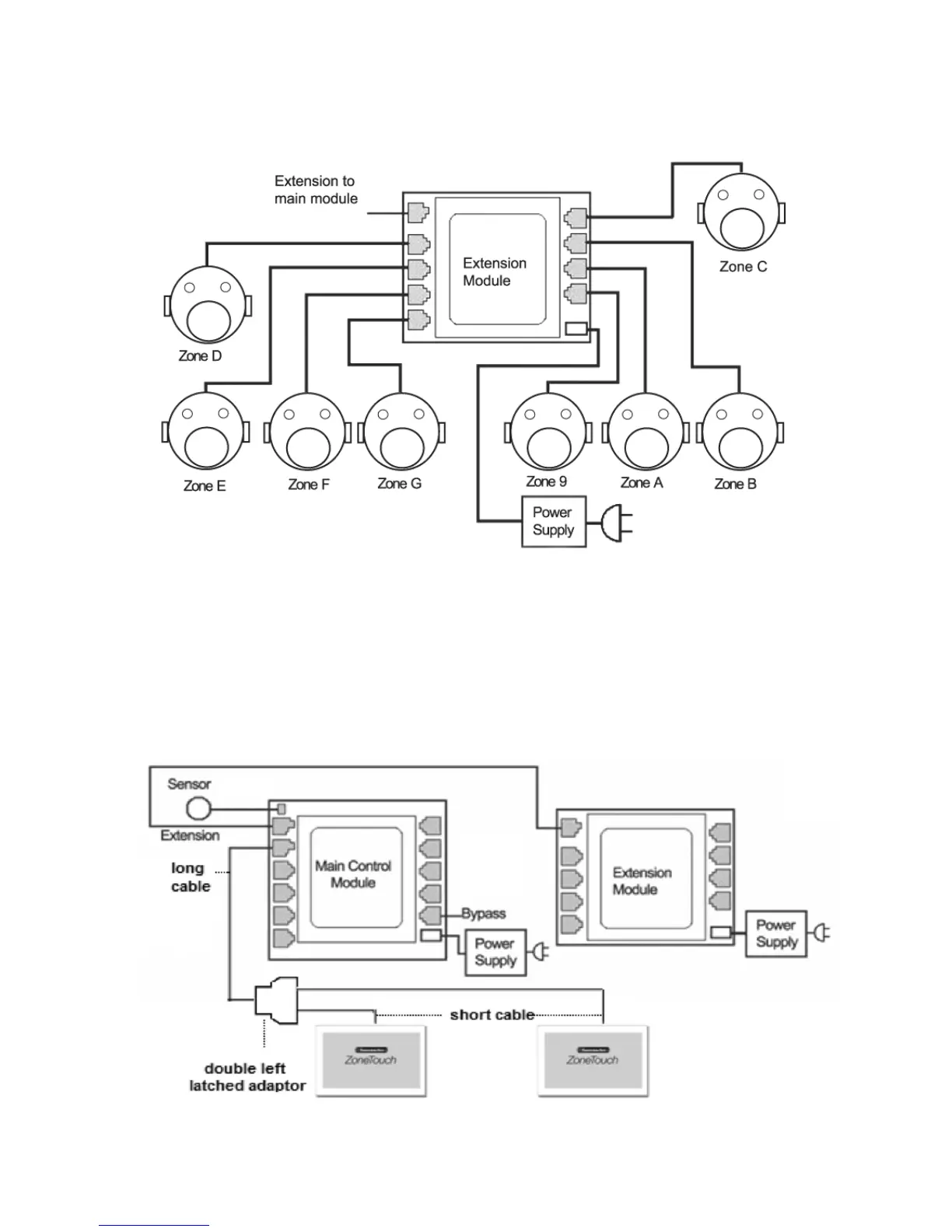
The wiring of the ZONETOUCH V2 system is straightforward. A cable with central
latchedplugsconnectsamotorizeddampertotherelevantoutputportclearlymarked
onthemaincontrolorextensionmodule.
Themainmoduleandextensionmodulecanbeindierentlocationsandconnected
viaacablewithleftlatchedplugsonbothendsasshowninFigure3.Touchscreenis
connectedtothe‘T’portonmainmoduleusingacablewithleftlatchedplugs.
Up to two touch screens can be joined in a system. The two touch screens are
connected to each other with a double left latched adaptor in serial.
Figure 2: Zone Touch with Extension Module and 8 Zone Dampers
Figure 3: ZoneTouch Main Module with Extension Module and 2 Touchpads

Related product manuals