EasyManua.ls Logo

Raycus RFL-C3000S-CE - Page 36

Raycus RFL-C3000S-CE
55 pages
Print Icon
To Next Page IconTo Next Page
To Next Page IconTo Next Page
To Previous Page IconTo Previous Page
To Previous Page IconTo Previous Page
Loading...
36
e) Set out the light parameter;
f) Click “laser ON”.
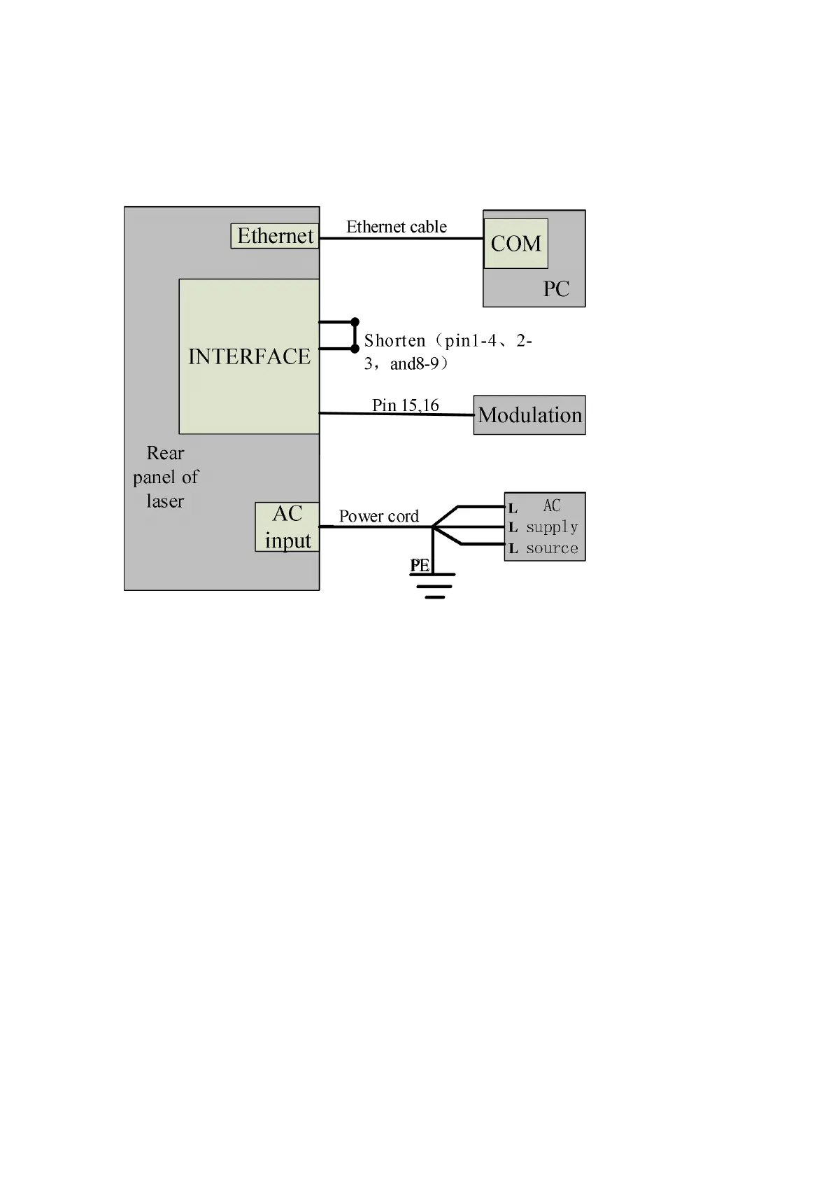
4.8.2.2 Internal/external modulation modes for power and communication
Figure 20 Wiring diagram of internal power control and external signal control
Operation method:
a) Shortconnect the 8 and 9 pins on the INTERFACE 24 pins (the control board is
powered on);
b) Open the laser clientware;
c) Click “the guide laser ON” button to view the guide laser;
d) Disabling the AD mode and the external envelopes
e) Waiting “Ready”;
f) Setting laser power parameters;

Related product manuals