EasyManua.ls Logo

RefPlus EK Series - Piping Diagrams; Ek-Em-Ej Models - Hot-Gas Defrost

RefPlus EK Series
40 pages
Print Icon
To Next Page IconTo Next Page
To Next Page IconTo Next Page
To Previous Page IconTo Previous Page
To Previous Page IconTo Previous Page
Loading...
R
36
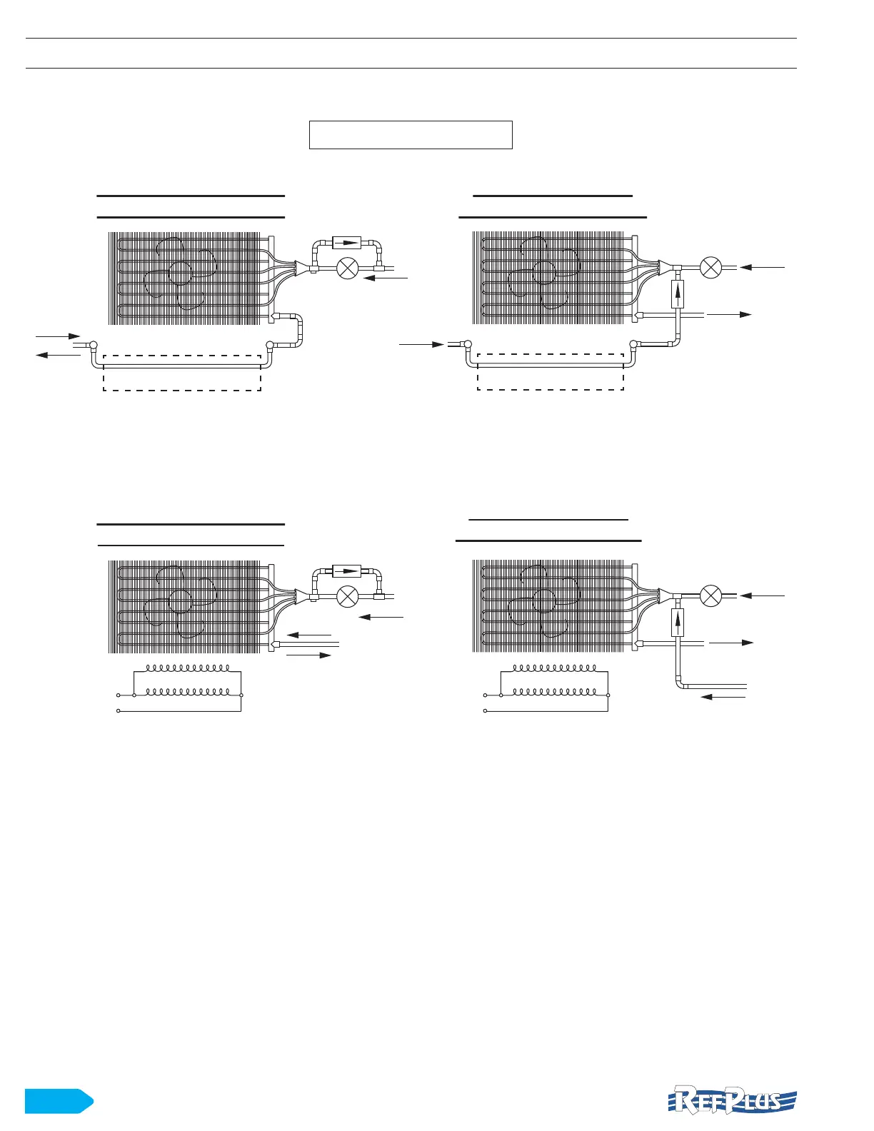
14. PIPING DIAGRAMS
14.1
TYPICAL PIPING DIAGRAMS
FOR
ALL EK-EM-EJ MODELS - HOT-GAS DEFROST
PIPING DIAGRAMS
ELECTRIC DRAIN
PAN HEATERS
ELECTRIC DRAIN
PAN HEATERS
Reverse-cycle defrost
with hot-gas drain pan
Reverse-cycle defrost
with electric drain pan
Three-pipe defrost
with electric drain pan
Three-pipe defrost
with hot-gas drain pan
LIQUID
SUCTION
SUCTION
DEFROST
DRAIN PAN
LIQUID
SUCTION
DEFROST
HOT GAS
HOT GAS
HOT GAS
DRAIN PAN
LIQUID
LIQUID
SUCTION
DEFROST
PIPING DIAGRAMS ARE FOR REFERENCE ONLY.
MAY VARY ON ACTUAL UNIT.

Table of Contents