EasyManua.ls Logo

Riello RG4F - Italiano; Table of Contents; Descrizione del Bruciatore; Materiale a Corredo

Riello RG4F
Print Icon
To Next Page IconTo Next Page
To Next Page IconTo Next Page
To Previous Page IconTo Previous Page
To Previous Page IconTo Previous Page
Loading...
3004
1
I
INDICE
1. DESCRIZIONE DEL BRUCIATORE . . . . . 1
1.1 Materiale a corredo . . . . . . . . . . . . . . . . . . 1
2. DATI TECNICI. . . . . . . . . . . . . . . . . . . . . . 2
2.1 Dati tecnici. . . . . . . . . . . . . . . . . . . . . . . . . 2
2.2 Accessori . . . . . . . . . . . . . . . . . . . . . . . . 2
2.3 Dimensioni . . . . . . . . . . . . . . . . . . . . . . . . 3
2.4 Campo di lavoro . . . . . . . . . . . . . . . . . . . . 3
3. INSTALLAZIONE . . . . . . . . . . . . . . . . . . . 4
3.1 Fissaggio al generatore. . . . . . . . . . . . . . . 4
3.2 Posizione di funzionamento. . . . . . . . . . . . 4
3.3 Alimentazione del combustibile . . . . . . . . . 5
3.4 Impianti idraulici . . . . . . . . . . . . . . . . . . . . 5
3.5 Collegamenti elettrici . . . . . . . . . . . . . . . . . 7
4. FUNZIONAMENTO . . . . . . . . . . . . . . . . . . 8
4.1 Regolazione della combustione. . . . . . . . . 8
4.2 Ugelli consigliati . . . . . . . . . . . . . . . . . . . . 8
4.3 Regolazione elettrodi. . . . . . . . . . . . . . . . . 9
4.4 Pressione pompa . . . . . . . . . . . . . . . . . . . 9
4.5 Regolazione testa di combustione. . . . . . . 9
4.6 Regolazione serranda aria . . . . . . . . . . . . 9
4.7 Programma di avviamento. . . . . . . . . . . . . 10
5. MANUTENZIONE . . . . . . . . . . . . . . . . . . . 10
6. ANOMALIE / RIMEDI . . . . . . . . . . . . . . . . 11
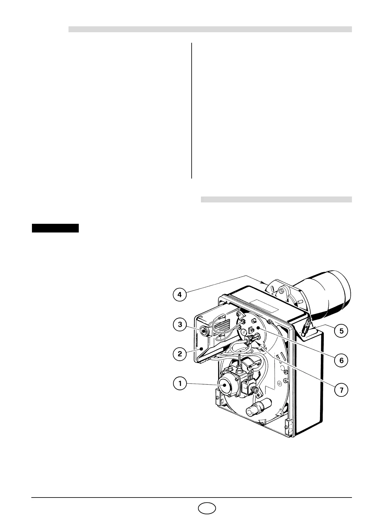
1. DESCRIZIONE DEL BRUCIATORE
Bruciatore di gasolio con funzionamento monostadio.
Per abbinamento con generatori d’aria calda in Germania (WLE secondo DIN 4794) è necessario sostituire
l’apparecchiatura esistente con il tipo Riello 550 SMD (togliere il ponte) ed il sensore fiamma con il tipo
amplificato (entrambe totalmente intercambiabili). Tale apparecchiatura, in abbinamento con il “Kit sblocco
a distanza” (da ordinarsi a parte), permette anche di gestire la funzione sblocco remoto.
ATTENZIONE
1 Pompa olio
2 Apparecchiatura di
comando e controllo
3 Pulsante di sblocco con
segnalazione di blocco
4 Flangia con schermo isolante
5 Gruppo regolazione
serranda aria
6 Gruppo portaugello
7 Sensore fiamma
Fig. 1
S7179
1.1 MATERIALE A CORREDO
Flangia con schermo isolante. . . . . .N° 1 Viti e dadi per flangia di fissaggio al generatore . . . . N° 4
Vite e dadi per flangia . . . . . . . . . . .
N° 1 Tubi flessibili con nipples . . . . . . . . . . . . . . . . . . . . . 2
Spina a 7 poli. . . . . . . . . . . . . . . . . .N° 1

Table of Contents

Related product manuals