EasyManua.ls Logo

Riello RG4F - Dutch

Riello RG4F
Print Icon
To Next Page IconTo Next Page
To Next Page IconTo Next Page
To Previous Page IconTo Previous Page
To Previous Page IconTo Previous Page
Loading...
3004
1
NL
INHOUD
1. BESCHRIJVING BRANDER . . . . . . . . . 1
1.1 Geleverd materiaal. . . . . . . . . . . . . . . . . 1
2. TECHNISCHE GEGEVENS . . . . . . . . . . 2
2.1 Technische gegevens . . . . . . . . . . . . . . 2
2.2 Accessoires . . . . . . . . . . . . . . . . . . . . . . 2
2.3 Afmetingen. . . . . . . . . . . . . . . . . . . . . . . 3
2.4 Werkingsveld . . . . . . . . . . . . . . . . . . . . . 3
3. INSTALLATIE . . . . . . . . . . . . . . . . . . . . 4
3.1 Bevestiging op de ketel . . . . . . . . . . . . . 4
3.2 Werkingspositie . . . . . . . . . . . . . . . . . . . 4
3.3 Brandstoftoevoer . . . . . . . . . . . . . . . . . . 5
3.4 Hydraulische installatie . . . . . . . . . . . . . 5
3.5 Elektrische aansluitingen . . . . . . . . . . . . 7
4. WERKING. . . . . . . . . . . . . . . . . . . . . . . . 8
4.1 Regeling verbranding . . . . . . . . . . . . . . . 8
4.2 Aangewezen verstuivers . . . . . . . . . . . . . 8
4.3 Afstelling electroden . . . . . . . . . . . . . . . . 9
4.4 Pompdruk . . . . . . . . . . . . . . . . . . . . . . . . 9
4.5 Afstelling branderkop . . . . . . . . . . . . . . . 9
4.6 Regeling van de luchtklep . . . . . . . . . . . . 9
4.7 Startprogramma . . . . . . . . . . . . . . . . . . . 10
5. ONDERHOUD. . . . . . . . . . . . . . . . . . . . . 10
6. DEFECTEN / OPLOSSINGEN . . . . . . . . 11
1. BESCHRIJVING BRANDER
Eéntrapsoliebrander.
Voor de combinatie met heteluchtketels in Duitsland (WLE volgens DIN 4794) moet de bestaande controle-
doos vervangen worden door het type Riello 550 SMD (brug verwijderen) en de vlamdetector door het ver-
sterkte type (beide geheel verwisselbaar). Door middel van deze controledoos, gecombineerd met de “KIT
voor ontgrendeling op afstand” (apart te bestellen) kan ook de functie voor het op afstand ontgrendelen be-
diend worden.
OPGELET
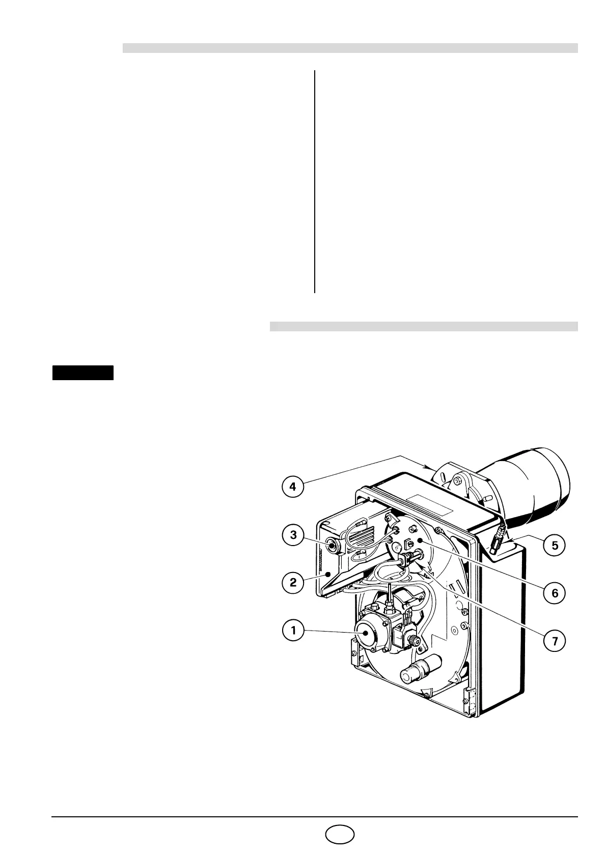
1 Oliepomp
2 Bedienings- en controledoos
3 Ontgrendelingsknop met
veiligheidssignalisatie
4Flensdichting
5 Regeling luchtklep
6 Verstuiverhouder
7 Vlambeveilinging
Fig. 1
S7179
1.1 GELEVERD MATERIAAL
Flensdichting . . . . . . . . . . . . . . . . . Nr. 1 Schroeven en moeren voor flens ter bevestiging op de ketel . Nr. 4
Schroef met moeren voor flens . . . Nr. 1 Flexibels met nippels . . . . . . . . . . . . . . . . . . . . . . . . . . Nr. 2
7-polige stekker . . . . . . . . . . . . . . . Nr. 1

Table of Contents

Related product manuals