EasyManua.ls Logo

Robe Robin Esprite - Page 12

Robe Robin Esprite
74 pages
Print Icon
To Next Page IconTo Next Page
To Next Page IconTo Next Page
To Previous Page IconTo Previous Page
To Previous Page IconTo Previous Page
Loading...
12
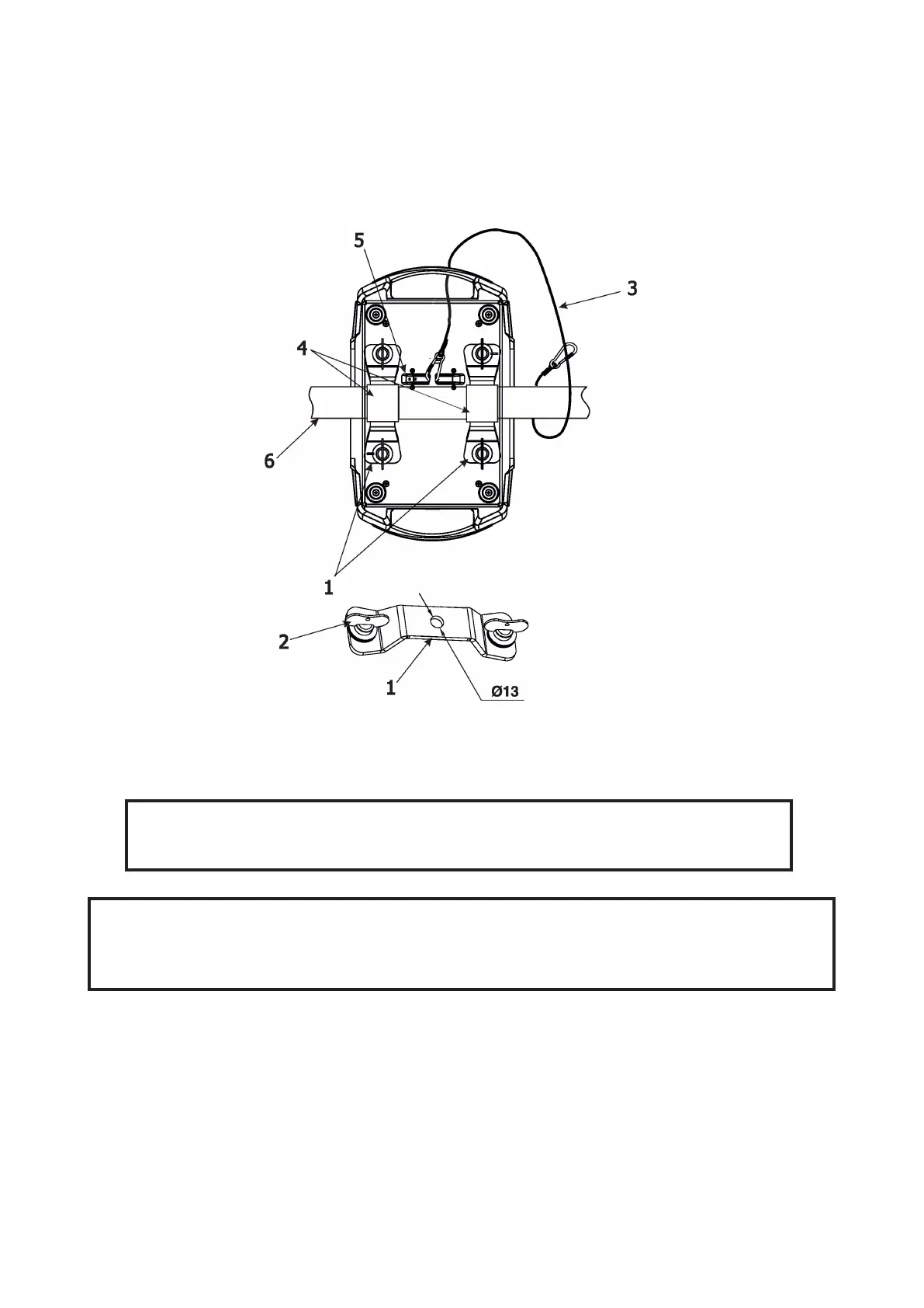
Truss installation
1.Bolt clamps (4) to the brackets Omega CL (1) with M12 bolts and lock nuts through the hole in the bracket
Omega CL.
2.Fasten the brackets Omega CL on the bottom of the base by means of the quick-lock fasteners (2) and tighten
them fully clockwise.
3. Lock the snap hook of the safety wire (3) in the attachment point (5) a) and pull the safety wire around
the truss (6) in a suitable position so that the maximum fall of the xture will be 20 cm. Lock the snap hook
with screw lock gate.
When installing xtures side-by-side,
avoid illuminating one xture with another!
DANGER TO LIFE!
Before taking into operation for the rst time,the installation has to be approved by
an expert!
1-Mounting bracket Omega CL
2-Quick-lock fasteners
3-Safety wire
4-Clamps
5-Attachment point
6-Truss

Related product manuals