EasyManua.ls Logo

Ropex CIRUS UPT-640 - Page 28

Ropex CIRUS UPT-640
55 pages
Print Icon
To Next Page IconTo Next Page
To Next Page IconTo Next Page
To Previous Page IconTo Previous Page
To Previous Page IconTo Previous Page
Loading...
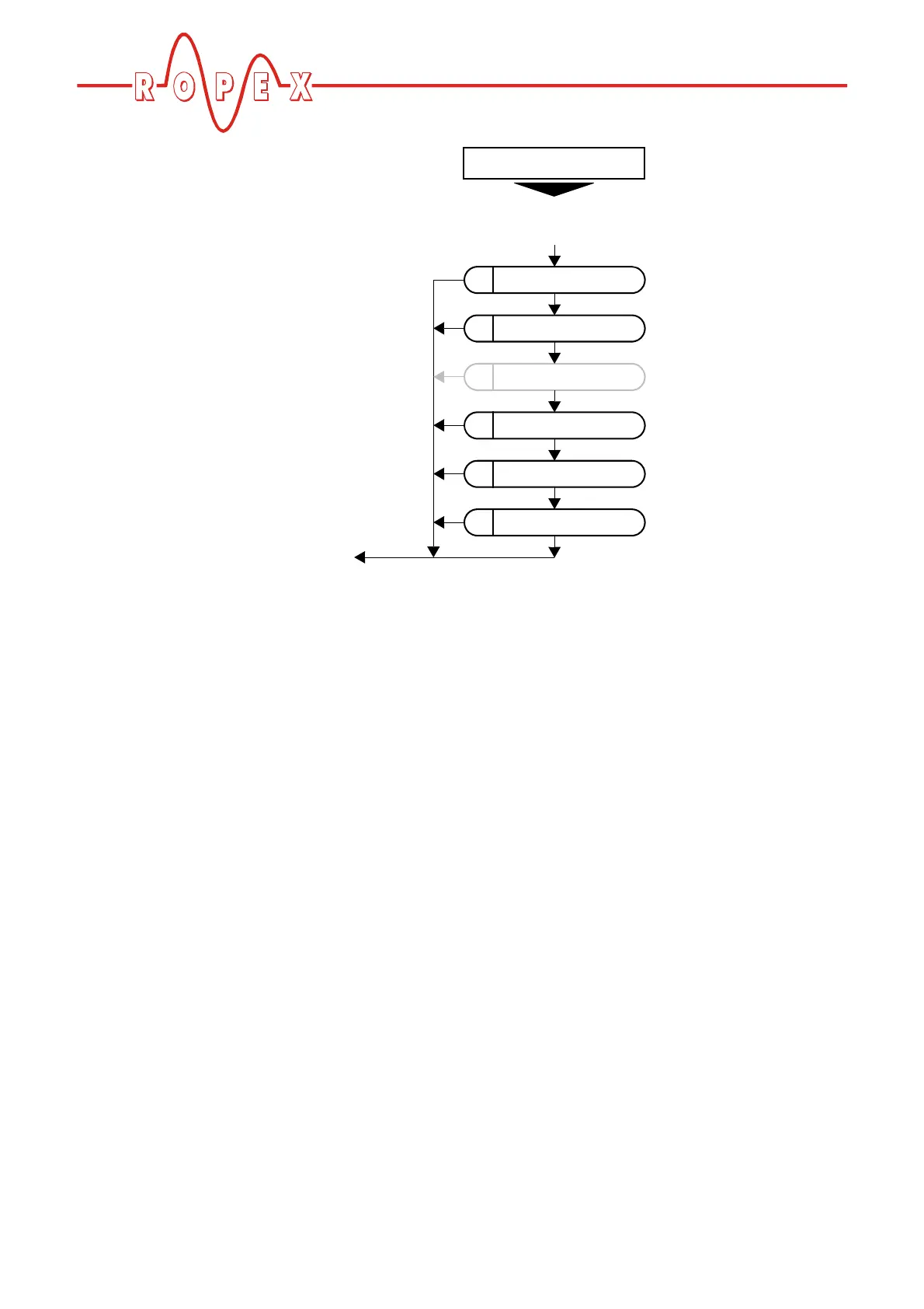
Controller functions
28 UPT-640 (as of SW 100)
221
Autocomp
220
Meas. imp. length
219
Heatup timeout
Configuration
222
"Output 1"
Continued from previous page
Back to home position
225
Temperature unit
224
Starting temp.

Table of Contents

Related product manuals