EasyManua.ls Logo

Rosemount 1495 - Page 56

Rosemount 1495
70 pages
Print Icon
To Next Page IconTo Next Page
To Next Page IconTo Next Page
To Previous Page IconTo Previous Page
To Previous Page IconTo Previous Page
Loading...
Reference Manual
00809-0100-4792, Rev CA
August 2010
Rosemount 1495, 1496
B-4
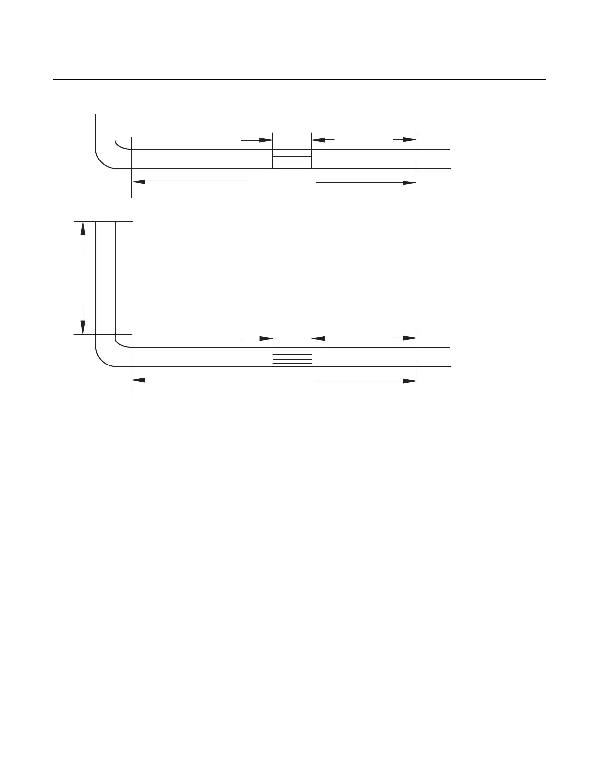
Figure B-1. Examples of Installations With a 19-Tube Bundle Flow Straightener Downstream of a Single Bend
1 Position of any fitting placed at any distance upstream of the single bend.
2 Position of previous fitting placed before straight length upstream of the single bend.
3D
2D
13D
±
0.25D
30D
3D
2D
13D
12D
30D
18D
15D
1
2

Related product manuals