EasyManua.ls Logo

Rosslare AYC-FG4 Series - Page 14

Rosslare AYC-FG4 Series
60 pages
Print Icon
To Next Page IconTo Next Page
To Next Page IconTo Next Page
To Previous Page IconTo Previous Page
To Previous Page IconTo Previous Page
Loading...
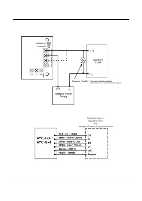
Wiring Instruc tio ns
AYC-Fx4 a nd AYC-G x4 fa mily ma nua l Pa g e 13
Wiring d ia g ra m # 3 (b e lo w ) sho ws the a uxilia ry o utp ut c o nne c tio n
using the e xte rna l p o we r.
Figure 4 Controller Application Wiring Diagram #3
Figure 5: Reader Application Wiring Diagram #4
Rosslare
PS-X25

Table of Contents

Related product manuals