EasyManua.ls Logo

Samsung Samsung-T Protocol - Protocol Frame Structure; Transmission Packet Format; Communication Timing Chart

Samsung Samsung-T Protocol
19 pages
Print Icon
To Next Page IconTo Next Page
To Next Page IconTo Next Page
To Previous Page IconTo Previous Page
To Previous Page IconTo Previous Page
Loading...
Ver
VerVer
Ver 1
11
1.
..
.8
88
80
00
0E
EE
E
- 3 -
1.
Protocol Frame Structure
1.1
Transmission Packet Format
-
Mode
:
RS-485/RS-422 Asynchronous Communication
-
Transmit Direction
:
Simplex/Half duplex
-
Start bit
:1
bit
-
Data bit
:8
bits
-
Parity bit
:
None
-
Stop bit
:1
bit
-
Baud rate
:9600
bps
1.2.
Communication Timing Chart
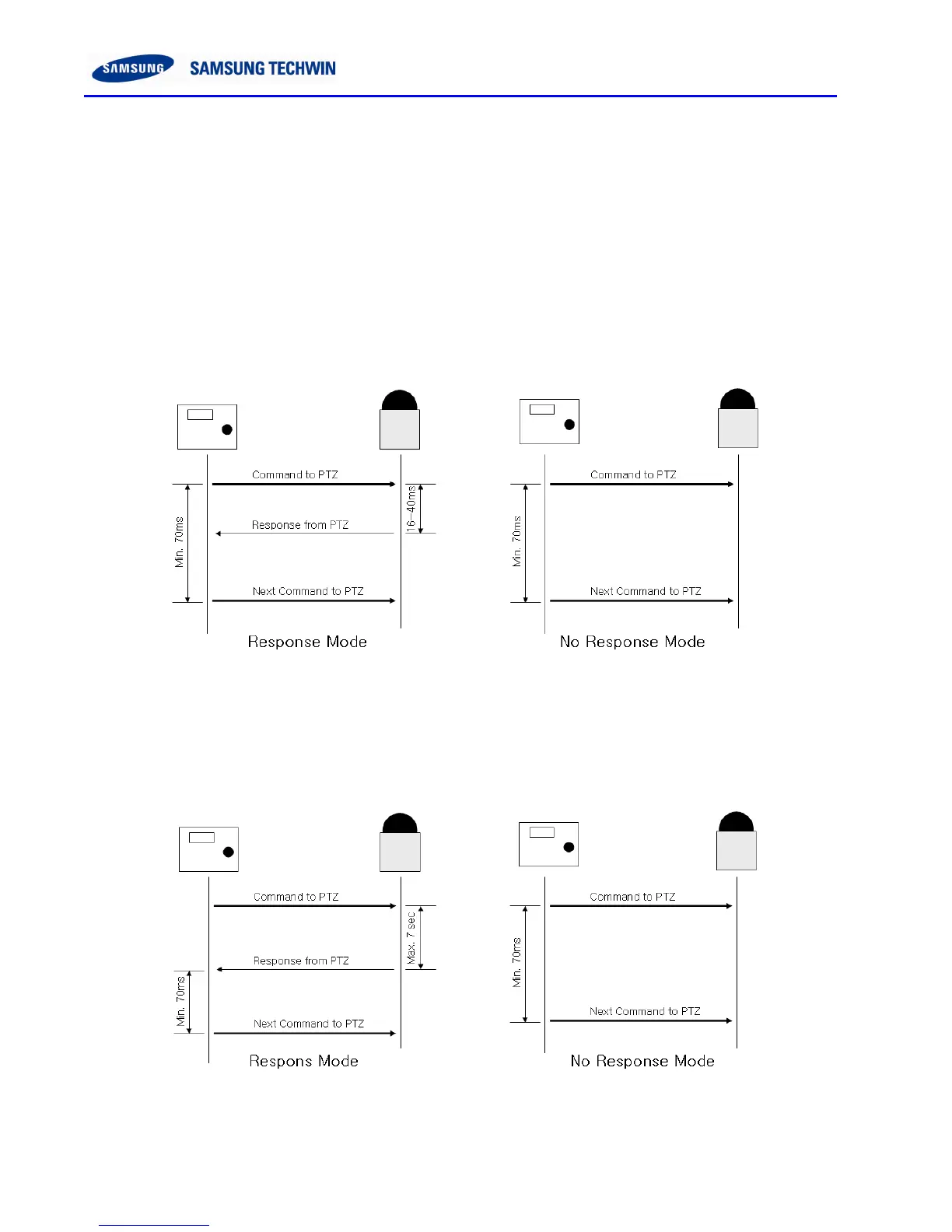
Pic
1.
Pan/Tilt Operation Timing Chart
Please note that the Preset commands send
a
response only at the end of their executions.
The recommended minimum period of control signal communications is
70
ms.
For the Pan/Tilt operation, setting up the communication period shorter than the recommendation
may cause protocol loss or extend the response time of the camera.
Pic
2.
Other Commands Timing Chart
Aside from Pan/Tilt, other protocols send
a
response at the end of their executions depending on
the situation; the response time of the camera may take up to
7
seconds.

Related product manuals