EasyManua.ls Logo

Samsung SHS-1321 - Opening the Door from Outside with a Password

Samsung SHS-1321
40 pages
Print Icon
To Next Page IconTo Next Page
To Next Page IconTo Next Page
To Previous Page IconTo Previous Page
To Previous Page IconTo Previous Page
Loading...
15
4. Terminating Card Registration
Press the [Register] button on the inner body to
terminate the registration.
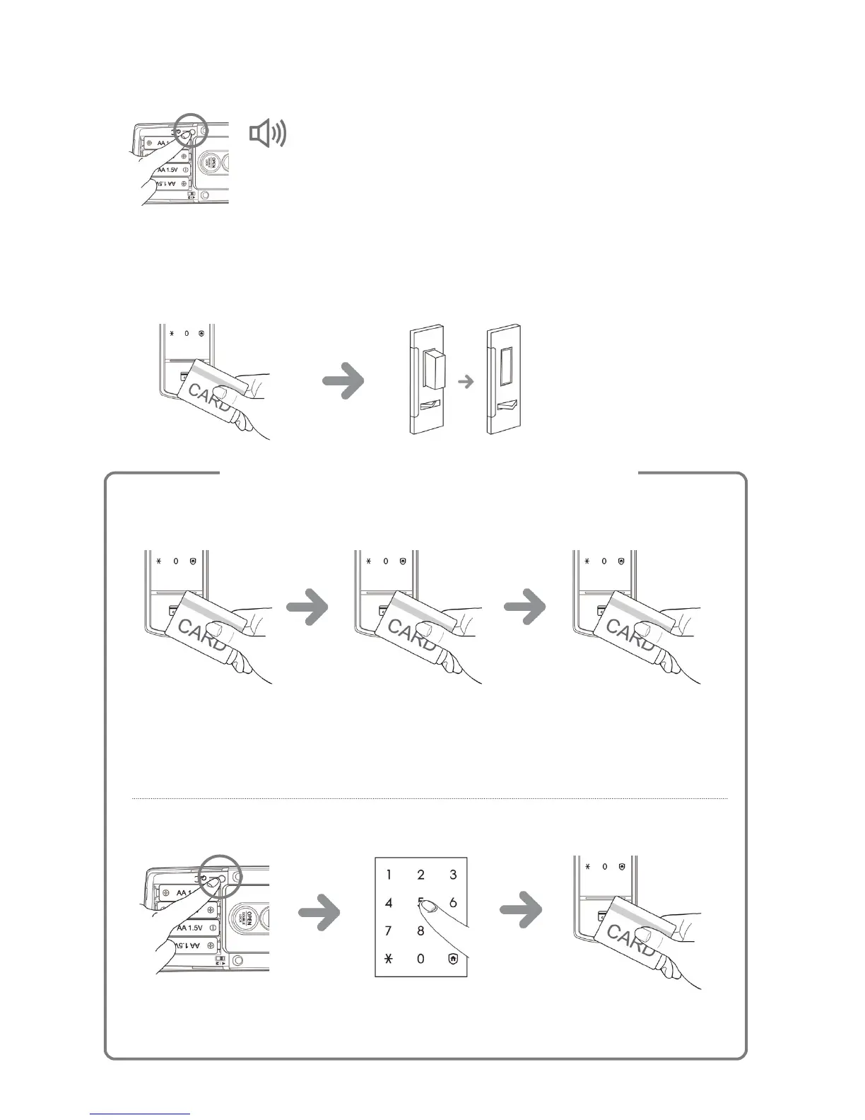
5. Confirming Card or Key Tag Registration (from the outside)
Touch the [Number Pad], and then lightly press the registered card to the card reader.
- Please refer to "Opening the Door from Outside with a Card or Key Tag" on page 18.
Continued Registration
Registration at another Time
To register an additional card or key tag after the registration process is terminated, repeat
the registration process with the card or key tag.
To register multiple cards or key tags, lightly place another card or key tag to the card
reader within 10 seconds of registering the previous card or key tag. If another card or key
tag is not exposed to the card reader within 10 seconds of registering the previous card or
key tag, the registration process is automatically terminated.
Registering Additional Cards
DING DONG DENG

Other manuals for Samsung SHS-1321

Related product manuals