EasyManua.ls Logo

Santec OTF-930 - Page 38

Default Icon
52 pages
Print Icon
To Next Page IconTo Next Page
To Next Page IconTo Next Page
To Previous Page IconTo Previous Page
To Previous Page IconTo Previous Page
Loading...
8-4
OTF-930
Operation Manual
Status Command
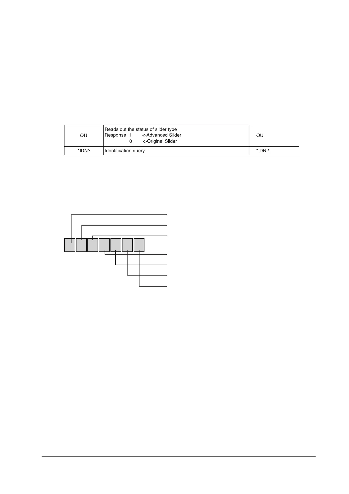
The SU command is provided to enable the current operation status of the OTF-930 to be probed.
The command returns a seven digit number. The interpretation of the seven digit number is
detailed below:
1-st digit 0 – Slider is stationary. Wavelength is set.
1 – Slider is moving.
3 – Set wavelength is different from actual wavelength. Slider is moving.
7 – Slider is removed or moving to be removed from the beam.
2-nd digit 0 – Peak search function is not active
1 – Peak search function is active.
2 – Peak search function is set to rapid mode.
3-rd digit 0 – Normal operation.
4-th digit 0 – Normal operation.
5-th digit 0 – Normal operation.
6-th digit 0 – Normal operation.
7-th digit 0 – Normal operation.
*
1
This command does not support "echo-back" in RS-232C communication.
The 6-th digit
The 7-th digit
The 5-th digit
The 4-th digit
The 3-rd digit
The 2-nd digit
The 1-st digit