EasyManua.ls Logo

Santec PEM-340 - Page 37

Santec PEM-340
48 pages
Print Icon
To Next Page IconTo Next Page
To Next Page IconTo Next Page
To Previous Page IconTo Previous Page
To Previous Page IconTo Previous Page
Loading...
Polarization Extinction Ratio Meter PEM-340
9-5
Status Command
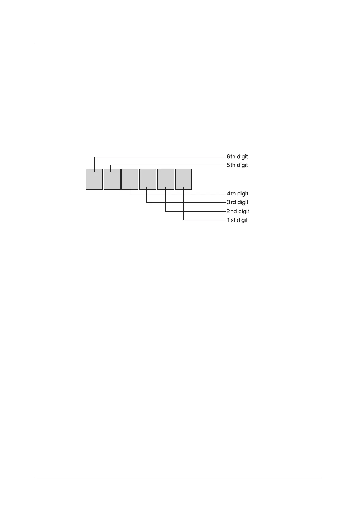
The SU command is provided to enable the current status of the rotating polarizer and the
measurement speed setting to be probed. The command returns a six digit number. The
interpretation of the six digit number is detailed below:
1st digit 0 – Polarizer is rotating.
1 – Polarizer has stopped rotating.
2nd digit 0 – Measurement speed is set to 2.5Hz.
1 – Measurement speed is set to 5Hz.
2 – Measurement speed is set to 10Hz.
3rd digit Range
0 Hold
1 Auto
4th digit Input power low level
0 Normal
1 Unmeasurable (too low level)
5th digit Input power high level
0 Normal
2 Unmeasurable (too high level)
6th digit 0 Normal

Related product manuals