EasyManua.ls Logo

Sanyo SUPER BL PY - Servo off Sequence

Sanyo SUPER BL PY
354 pages
Print Icon
To Next Page IconTo Next Page
To Next Page IconTo Next Page
To Previous Page IconTo Previous Page
To Previous Page IconTo Previous Page
Loading...
6. OPERATION
65
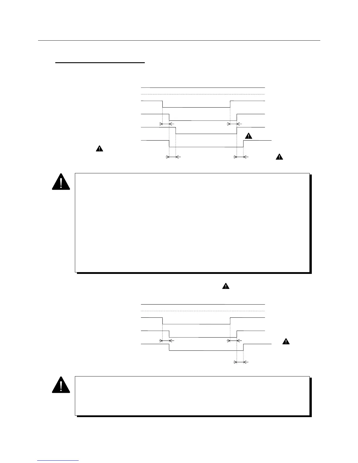
6.1.3 Servo OFF Sequence
6.1.3.1 When holding brake timing THB is set at 300 msec (standard)
6.1.3.2 When holding brake timing THB is set at 0 msec ( 1)
1 The current is limited by the sequence current limit value (standard value 120%,
which is changed in Parameter Mode 1 on Page 12) for 300 mSec.
2 It is possible to make commands ineffective (forced zero) for 300 msec after SON by
setting Func1 bit5 to "0" when setting parameters. In case of the position control
type, however, the command pulse remains as a deviation for 300 msec.
It is possible to make commands effective immediately after SON by setting Func1
bit5 to "1" when setting parameters. However, the sequence current limit value is
applied when switching from SON to SOFF and is not applied when switching from
SOFF to SON.
3 It is possible to output the command effectiveness from CN1-39 and 40 pins by using
parameter Func4.
1 This setting cannot prevent a self-weight fall by using "holding brake excitation timing
output". Secure command input timing that does not hold off braking.
2 It is possible to make commands effective immediately after SON regardless of THB
setting, by setting Func1 bit5 to "1" when setting parameters.
ON
( 2)
ON
Effective
Start ready
complete output (SRDY)
Servo ON (SON)
Holding brake excitation
timing output (HBON)
Motor excitation
Command effectiveness
output ( 3)
12 mSec or less
OFF
(
holdin
g
brake o
p
eration
)
300 mSec ( 1)
300 mSec or less
12 mSec or less
ON
(release)
ON
ON
ON
Command ineffective
(forced zero) OFF
OFF
ON
ON
OFF
OFF
ON
ON
Effective
Start ready
complete output (SRDY)
Servo ON (SON)
Motor excitation
Command effectiveness
out
p
ut
12 mSec or less ( 2)
12 mSec or less
ON
ON
ON
Command ineffective
(forced zero) OFF
OFF
ON
ON
OFF
OFF
OFF
ON
4 mSec

Table of Contents

Related product manuals