EasyManua.ls Logo

SATO M10e - IEEE1284 Parallel Interface

SATO M10e
82 pages
Print Icon
To Next Page IconTo Next Page
To Next Page IconTo Next Page
To Previous Page IconTo Previous Page
To Previous Page IconTo Previous Page
Loading...
Section 6. Troubleshooting
SATO M10e PN 9001101 Rev. A Page 6-3
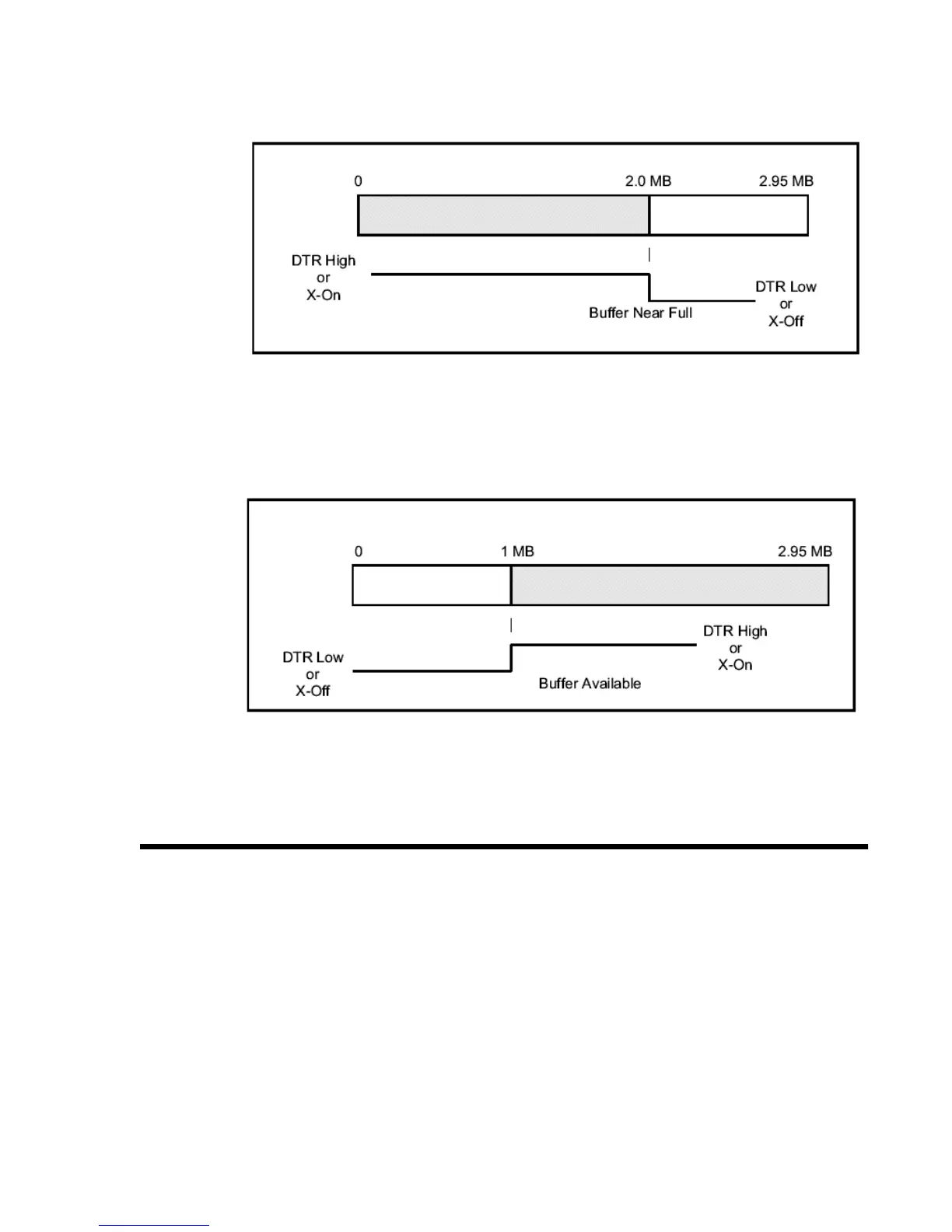
The receiving buffer will not be able to receive more data again until a “Buffer Available”
condition occurs. This takes place when the receiving buffer has emptied so that only 1 MB
bytes of data are being held (2.0 MB bytes from being full). At this time, DTR will go “high”
or an X-On is sent to tell the host that it can again receive data.
All printer error conditions (i.e., label out, ribbon out) will cause the printer to go busy (DTR
“low” or X-Off) until the problem is corrected and the printer is placed on-line. The printer
will also be busy if taken off-line from the front panel.
IEEE1284 PARALLEL INTERFACE
The parallel interface for the Series “e” printers is a Plug-In Interface Module that can be
installed by the user. It conforms to the IEEE1284 specification. It will automatically detect
the IEEE1284 signals and operate in the high speed mode. If it does not detect the IEEE1284
signals, it will operate in the standard Centronics mode, which is significantly slower. For this
reason, an interface cable and host interface conforming to the IEEE1284 specification must
be present to fully utilize the speed capabilities. This interface also operates bi-directionally
and can report the status of the printer back to the host.

Other manuals for SATO M10e

Related product manuals