EasyManua.ls Logo

Seca 656 - 4 Aperçu; Éléments de Commande

Seca 656
Print Icon
To Next Page IconTo Next Page
To Next Page IconTo Next Page
To Previous Page IconTo Previous Page
To Previous Page IconTo Previous Page
Loading...
112 •
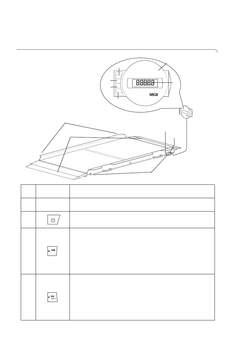
4. APERÇU
4.1 Éléments de commande
6
2
3
5
4
7
9
10
11
1
8
Élément de
commande
Fonction
1
Unité
d'affichage
Élément de commande et d'affichage central
Peut être posé sur une surface de travail ou fixé au mur
2
Mise sous et hors tension de la balance
3
Touche fléchée
Pendant la pesée:
- Pression brève: activer la fonction Hold
- Pression longue: activer la fonction Tare
Dans le menu:
- Sélectionner un sous-menu, sélectionner un point de menu
- Augmenter la valeur
4
Touche fléchée
Pendant la pesée:
- Pression brève: Activer la fonction BMI
- Pression longue: appeler le menu
Dans le menu:
- Sélectionner un sous-menu, sélectionner un point de menu
- Réduire la valeur
tare

Table of Contents

Related product manuals