EasyManua.ls Logo

Sharp XE-A42S - Programacion de Funciones Auxiliares; Programación de Secciones

Sharp XE-A42S
132 pages
Print Icon
To Next Page IconTo Next Page
To Next Page IconTo Next Page
To Previous Page IconTo Previous Page
To Previous Page IconTo Previous Page
Loading...
19
Este primer número que se introduce depende de si la diferencia entre un punto de
división mínimo a introducirse y el punto de división mínimo anterior no son de menos de
$1,00 ni de más de 99¢. Cuando la diferencia no sea de menos de $1,00, introduzca “1”,
y cuando no sea de más de 99¢, introduzca “0” o no introduzca nada.
El segundo número depende de si su tabla de impuestos debe programarse como tabla
de impuestos 1, 2, 3, ó 4.
*2 Si la tasa es fraccionaria (por ejemplo 4-3/8%), la fracción (3/8) se convierte a su equivalente decimal (es
decir, 0,375) y se introduce la tasa resultante de 4,375. Tenga presente que la tasa nominal (R)
generalmente se indica en la tabla de impuestos.
Si hace un registro incorrecto antes de introducir la M al programar una tabla de impuestos,
cancélelo con la tecla
l
; y si comete un error después de haber introducido la M, cancélelo con la
tecla
s
. Luego vuelva a hacer la programación desde el principio.
• Limitaciones para el registro de puntos de división mínimos
La caja registradora puede trabajar con una tabla de impuestos que conste hasta de 72 puntos de división como
máximo. (El número máximo de puntos de división es de 36 cuando la diferencia de puntos de división es de
$1,00 o más.) Si el número de puntos de división excede la capacidad de tablas de la caja registradora, deberá
emplear entonces el registro manual.
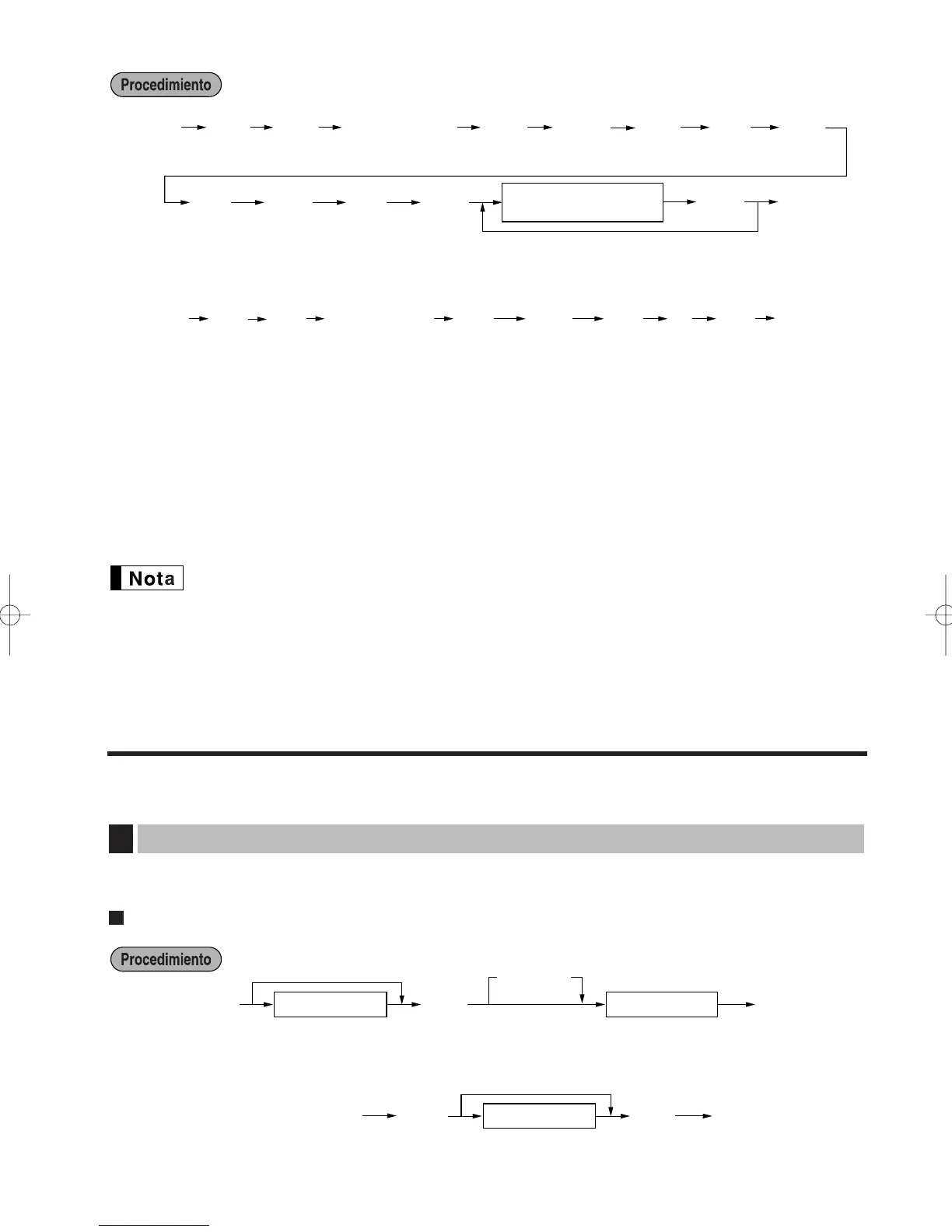
Segundo número:
(1 a 4)
*1 Primer número:
(1 ó 0)
s @
s
@
máx. de seis dígitos
(0,0001-99,9999%)
máx. de
cuatro dígitos
Número de uno
o dos dígitos
Tasa
M
*1
*2
@
@
8
Para borrar una tabla de impuestos, emplee la secuencia siguiente:
s
@
@
máx. de seis dígitos
(0,0001-99,9999%)
máx. de
cuatro dígitos
Número de uno
o dos dígitos
Tasa
M
*1
*2
@
máx. de
tres dígitos
T
@
máx. de
cinco dígitos
Q
@ A
Punto de división mínimo
máx. de cinco dígitos
Repetir hasta que se introduzca el punto MAX.
@
@8
PROGRAMACION DE FUNCIONES AUXILIARES
La mercancía se puede clasificar en un máximo de 99 secciones.
Estado de sección
Para programar otra sección, comience desde el principio sin pulsar la tecla
A
.
Para las secciones 41 a 99:
d@
Código de sección
A
Para ajustar todo ceros
ABCDEFGHIJK
*
2
Para ajustar todo ceros
@
Tecla de sección
ABCDEFGHIJK
A
D
*
1
*
2
*1: Para programar las secciones 21 a 40, pulse la tecla de cambio de sección.
Programación de secciones
1
A42S_3(Sp) 09.10.13 4:47 PM Page 19

Table of Contents

Other manuals for Sharp XE-A42S

Related product manuals