EasyManua.ls Logo

Sharp XE-A42S - Repeat Entries; Multiplication Entries

Sharp XE-A42S
132 pages
Print Icon
To Next Page IconTo Next Page
To Next Page IconTo Next Page
To Previous Page IconTo Previous Page
To Previous Page IconTo Previous Page
Loading...
17
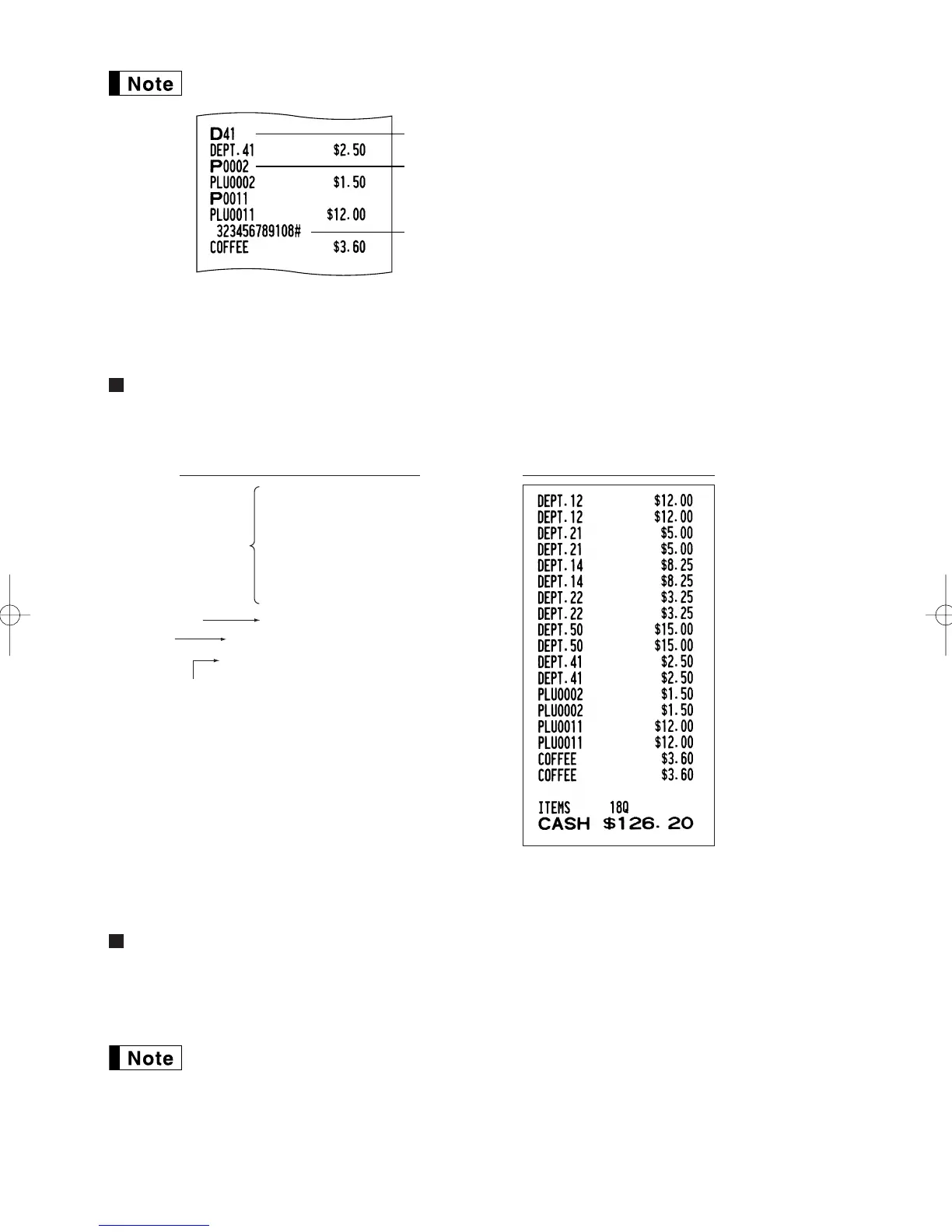
When printing of Dept./PLU/UPC codes is allowed, job code #16, each code is printed as follows:
Repeat entries
You can use this function for entering a sale of two or more of the same items. Consecutive pressing of a
department key,
d
,
p
key or
q
key is shown below.
*Consecutive pressing of
q
key is required when
q
key
is used after price entry.
Multiplication entries
When selling a large quantity of items, it is convenient to use the multiplication entry method. Enter the quantity
using numeric keys and press the
@
key before starting item entry as shown in the example on the following
page.
When programmed to allow fractional quantity entries, you can enter up to four integers and three
digit decimal, though the quantity is counted as one for sales reports. To enter a fractional quantity,
use the decimal point key between integer and decimal, as
7P5
for entering 7.5.
1200
500 D ¡ ¡
® ®
D
50 d 1500 d d
41 d d
2 p p
11 p 1200 p p
323456789108 p p
A
Sub-
department
entry
PLU entry
Department entry
UPC entry
*
*
Receipt printKey operation example
Dept. code
PLU code
UPC code
A42S_2 FOR THE OPERATOR 09.10.14 9:10 AM Page 17

Table of Contents

Other manuals for Sharp XE-A42S

Related product manuals