EasyManua.ls Logo

Sharp XE-A42S - Split Pricing Entries

Sharp XE-A42S
132 pages
Print Icon
To Next Page IconTo Next Page
To Next Page IconTo Next Page
To Previous Page IconTo Previous Page
To Previous Page IconTo Previous Page
Loading...
18
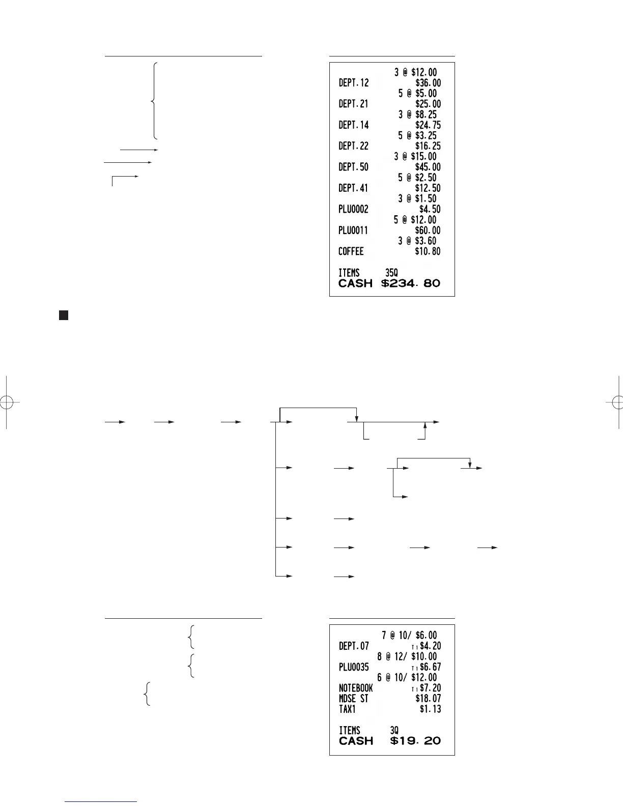
Split pricing entries
This function is practical when the customer wants to purchase items normally sold in bulk.
To utilize this function, you must change the pre-programmed or default programmed setting. Refer to “Various
Function Selection Programming 1” (job code 70) for programming details.
To make split pricing entries, follow the procedure below:
Department entry
PLU entry
7 @ 10 @
600
8 @ 12 @
35 p
6 @ 10 @
4901305920795 p
A
UPC entry
Receipt printKey operation example
Selling q'ty
(Up to 4 digits)
Base q'ty
(Up to 2 digits)
Unit price
per base q'ty
When using a programmed unit price
@ @
Department key
D
Dept. code
d
PLU code
p
Unit price
per base q'ty
d
(Only preset entry is allowed.)
PLU code
Unit price
per base q'ty
p p
UPC code
p
Sub-
department
entry
PLU entry
Department entry
3 @ 1200
5 @ 500 D ¡
3 @ ®
5 @ D
3 @ 50 d 1500 d
5 @ 41 d
3 @ 2 p
5@11p1200 p
3 @323456789108 p
A
UPC entry
Receipt printKey operation example
A42S_2 FOR THE OPERATOR 09.10.14 9:10 AM Page 18

Table of Contents

Other manuals for Sharp XE-A42S

Related product manuals