EasyManua.ls Logo

Sharp XE-A42S - Transaction Finalization and Subtotals; Finalization Methods

Sharp XE-A42S
132 pages
Print Icon
To Next Page IconTo Next Page
To Next Page IconTo Next Page
To Previous Page IconTo Previous Page
To Previous Page IconTo Previous Page
Loading...
19
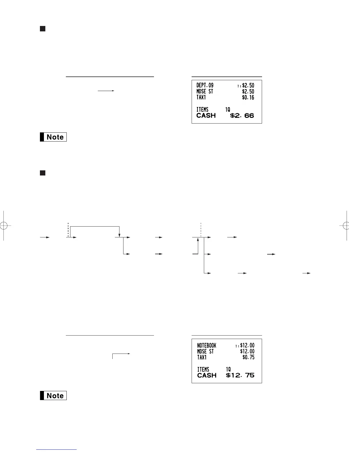
Single item cash sale (SICS) entry
• This function is useful when a sale is for only one item and is for cash. This function is applicable only to those
departments that have been set for SICS or to their associated PLUs, sub-departments or UPCs.
• The transaction is complete and the drawer opens as soon as you press the department key,
d
key or
p
key.
If an entry to a department, PLU/sub-department or UPC set for SICS follows the ones to
departments, PLUs/sub-departments or UPC not set for SICS, it does not finalize and results in a
normal sale.
PLU/UPC price inquiry (view) function
You can use this function when you want to know the unit price of the PLU/UPC item during transaction in the
REG/MGR mode.
To use price inquiry function, follow the procedure below:
*1: Press the
l
key to cancel the the inquiring (view) mode.
*2: Press the
p
or
q
key when you want to register the unit price of the PLU/UPC displayed.
*3: You can change the unit price temporarily in the MGR mode. The unit price which is programmed in PGM
mode is not changed (This is considered a price override entry).
For the repeat entry, press the
p
key when having pressed the
p
key ,or press the
q
key when having pressed the
q
key.
I
4901305920795 p
p
A
Total sales amount is
displayed.
Receipt printKey operation example
I
UPC code
Unit price
(MGR mode)
or
The total sales amount of
the inquired PLU/UPC is displayed.
*
1
*
2
*
3
“VIEW” is displayed.
PLU code
Numeric entry
(Q'ty
@
)
p
pl
pq
or
p q
For finishing
the transaction
250
ª
Receipt printKey operation example
A42S_2 FOR THE OPERATOR 09.10.14 9:10 AM Page 19

Table of Contents

Other manuals for Sharp XE-A42S

Related product manuals