EasyManua.ls Logo

Sharp XE-A42S - Page 18

Sharp XE-A42S
132 pages
Print Icon
To Next Page IconTo Next Page
To Next Page IconTo Next Page
To Previous Page IconTo Previous Page
To Previous Page IconTo Previous Page
Loading...
16
• Sub-department (open PLU) entries
*
1
Less than the programmed upper limit
amounts
When zero is entered, only the sales
quantity is added.
*
2
After you enter a unit price, you can press
the
q
key instead of the
p
key.
You can display preset unit prices during sales operations. If you are a manager, that is, you have
a MGR key, you can temporarily change preset prices. For operation details, please refer to
“PLU/UPC price inquiry (view) function” on page 19.
• UPC (barcode) entries
You can keyboard barcodes. The barcodes which can be keyboarded are UPC-A (number system character:
0,2,3,4,5), UPC-E, EAN-8 and EAN-13. You can also keyboard add-on codes (2 digits or 5 digits) added to EAN-
13 codes except ISBN and ISSN codes.
When programmed not to allow price entry for ISBN and ISSN codes (job code #16), you cannot
enter ISBN and ISSN codes.
You can display preset unit prices during sales operations. If you are a manager, that is, you have
a MGR key, you can temporarily change preset prices. For operation details, please refer to
“PLU/UPC price inquiry (view) function” on page 19.
The cash register refers to preset prices, not referring to price information in barcodes. By default,
when a preset price is not preprogrammed, the cash register goes into UPC learning function
status to guide you to enter unit price and other necessary information during sales operation. For
details of UPC learning function, please refer to “UPC learning function” on page 20.
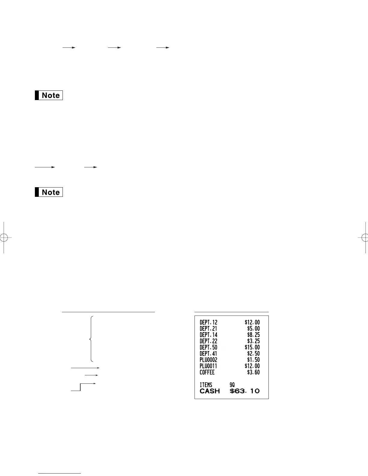
Example: Selling a dept. 12 item ($12.00) , a dept. 21 item ($5.00), a dept. 14 item (using preset price), a dept.
22 item (using preset price), and a dept. 50 item ($15.00), a dept. 41 item (using preset price), a PLU
2 item (PLU entry), a PLU 11 item (sub-dept. entry, $12.00) and UPC code 323456789108 item
(label: COFFEE/$3.60)
*Use of the
q
key is available instead of the last
d
or
p
key.
Sub-department
entry
PLU entry
Department entry
1200
500 D ¡
®
D
50 d 1500 d
41 d
2 p
11 p 1200 p
323456789108 p
A
UPC entry
*
*
Receipt printKey operation example
p
UPC code
PLU code
(1 to 7000)
p
Unit price *
1
(max. 7 digits)
p
*
2
A42S_2 FOR THE OPERATOR 09.10.14 9:10 AM Page 16

Table of Contents

Other manuals for Sharp XE-A42S

Related product manuals