EasyManua.ls Logo

Sharp XE-A507 - Training Mode Operations; Training Mode Usage

Sharp XE-A507
112 pages
Print Icon
To Next Page IconTo Next Page
To Next Page IconTo Next Page
To Previous Page IconTo Previous Page
To Previous Page IconTo Previous Page
Loading...
30
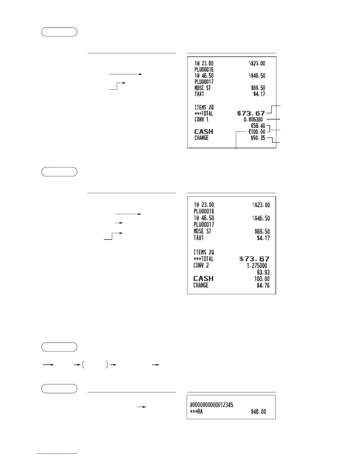
Example
Presetconversionrate(0.8063):CONV1
Keyoperation Print
10000 A
Currency
conversion
Amount
tendered in
foreign currency
F
4
16
17
p
p
Example
Openconversionrate(1.275):CONV2
Keyoperation Print
10000 A
Currency
conversion
Conversion rate
Amount
tendered in
foreign currency
F
5
16
17
p
p
1P275
A
Received-on-accountentries
When you receive on account from a customer, use this function.
From the FUNCTION MENU, select RA option to proceed the operation. You cannot receive RA in foreign
currency.
Procedure
1 ***RA
F
RA amount
(max. 9 digits)
A
Example
Keyoperation Print
12345
Q
(Selection “1 ***
RA
”)
F
1
4800
A
Domestic
currency
Conversion
rate
Foreign
currency
Domestic
currency
Foreign currency symbol
(Printed if programmed)

Table of Contents

Other manuals for Sharp XE-A507

Related product manuals