EasyManua.ls Logo

SICK C4000 Fusion Ex

SICK C4000 Fusion Ex
36 pages
To Next Page IconTo Next Page
To Next Page IconTo Next Page
To Previous Page IconTo Previous Page
To Previous Page IconTo Previous Page
Loading...
6,4
9,5
67,5
58,7
161,8
89,6
44,5
1.700,2
1.668,2
1.635
237,7 206,9
50,8
142,1
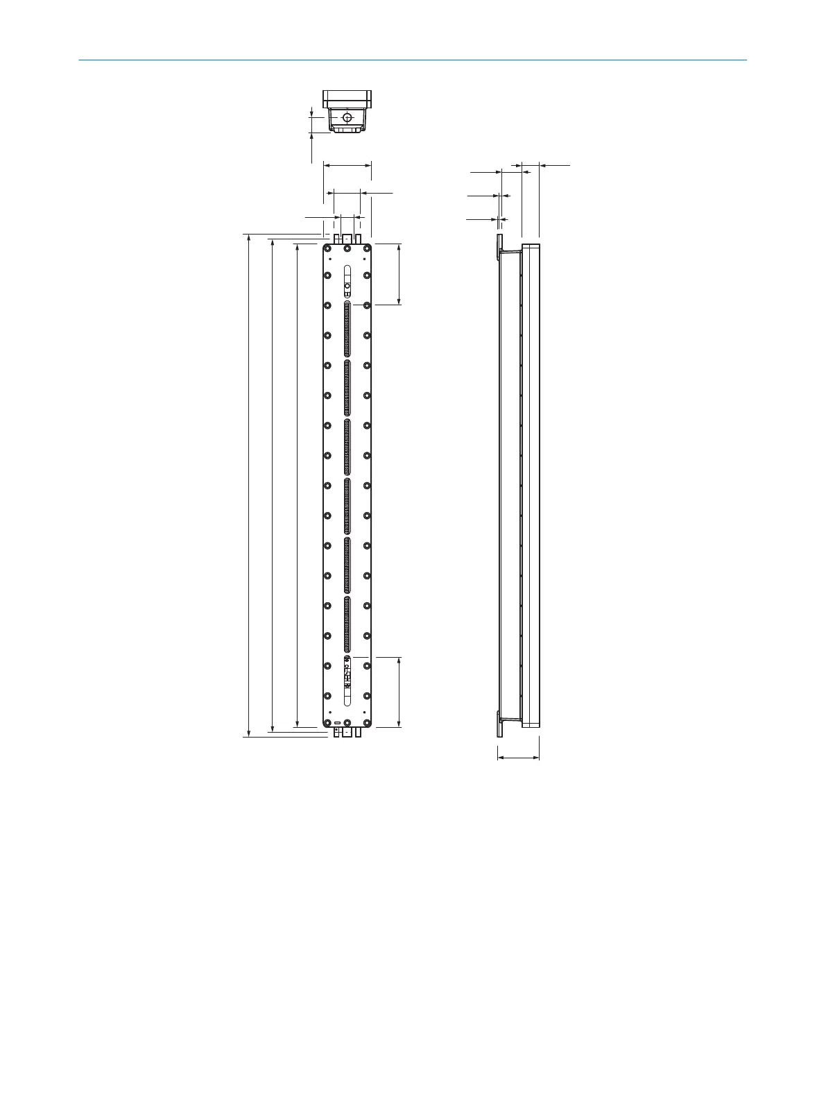
Figure 19: Dimensional drawing, sender and receiver, protective field height 1,200 mm
TECHNICAL DATA 7
8022867/2019-03-04 | SICK O P E R A T I N G I N S T R U C T I O N S | C4000 Fusion Ex
27
Subject to change without notice

Related product manuals