EasyManua.ls Logo

Siemens 7VK512

Siemens 7VK512
132 pages
To Next Page IconTo Next Page
To Next Page IconTo Next Page
To Previous Page IconTo Previous Page
To Previous Page IconTo Previous Page
Loading...
!PPENDIX6+
6
#
' #

%
)
.
'
!
"
%
)
.
0
5
4
!
U
F
B
A
U
'
E
H
¤
U
S
E
3
5
2
&
!
#
%
-
/
5
.
4
)
.
'
#
!
3
%
%
I
N
B
A
U
'
E
H
¤
U
S
E
&
,
5
3
(
-
/
5
.
4
)
.
'
#
!
3
%
-
%
,
$
%
2
%
,
!
)
3
2
%
,
!
9
,
,
,
,
!
,
,
,
,
,
%
%
I
N
+
O
M
M
A
N
D
O
B
L
O
C
K
I
E
R
E
N
#
,
/
3
%
#
/
-
-
!
.
$
"
,
/
#
+
%
+
5
B
L
O
C
K
I
E
R
E
N
2
!
2
"
,
/
#
+
%
,
5
B
L
O
C
K
I
E
R
E
N
$
!
2
"
,
/
#
+
!
!
!
!
!
!
!
!
!
!
!
%
!
:
!
!
!
!
!
!
!
!
!
!
!
!
-
+
5
0
A
U
S
E
N
Z
E
I
T
L
¤
U
F
T
2
!
2
$
%
!
$
4
)
-
%
2
5
.
-
,
5
0
A
U
S
E
N
Z
E
I
T
L
¤
U
F
T
$
!
2
$
%
!
$
4
)
-
%
2
5
.
-
3
9
.
#
D
U
R
C
H
G
E
S
T
E
U
E
R
T
3
9
.
#
/
6
%
2
$
2
)
6
%
-
3
9
.
#
4
A
B
G
E
L
A
U
F
E
N
3
9
.
#
4
-
3
9
.
#
B
L
O
C
K
I
E
R
T
3
9
.
#
"
,
/
#
+
-
3
9
.
#
L
¤
U
F
T
U
E
B
3
5
0
%
2
6
)
3
)
/
.
3
9
.
#
2
5
.
.
)
.
'
%
7
D
L
!
U
T
O
M
A
T
5
6
4
-
#
"
5
%
7
D
L
!
U
T
O
M
A
T
5
6
4
-
#
"
5
%
3
Y
N
C
B
L
O
C
K
I
E
R
E
N
"
,
/
#
+
3
9
.
#
%
3
Y
N
C
D
U
R
C
H
S
T
E
U
E
R
N
/
6
%
2
2
)
$
%
3
9
.
#
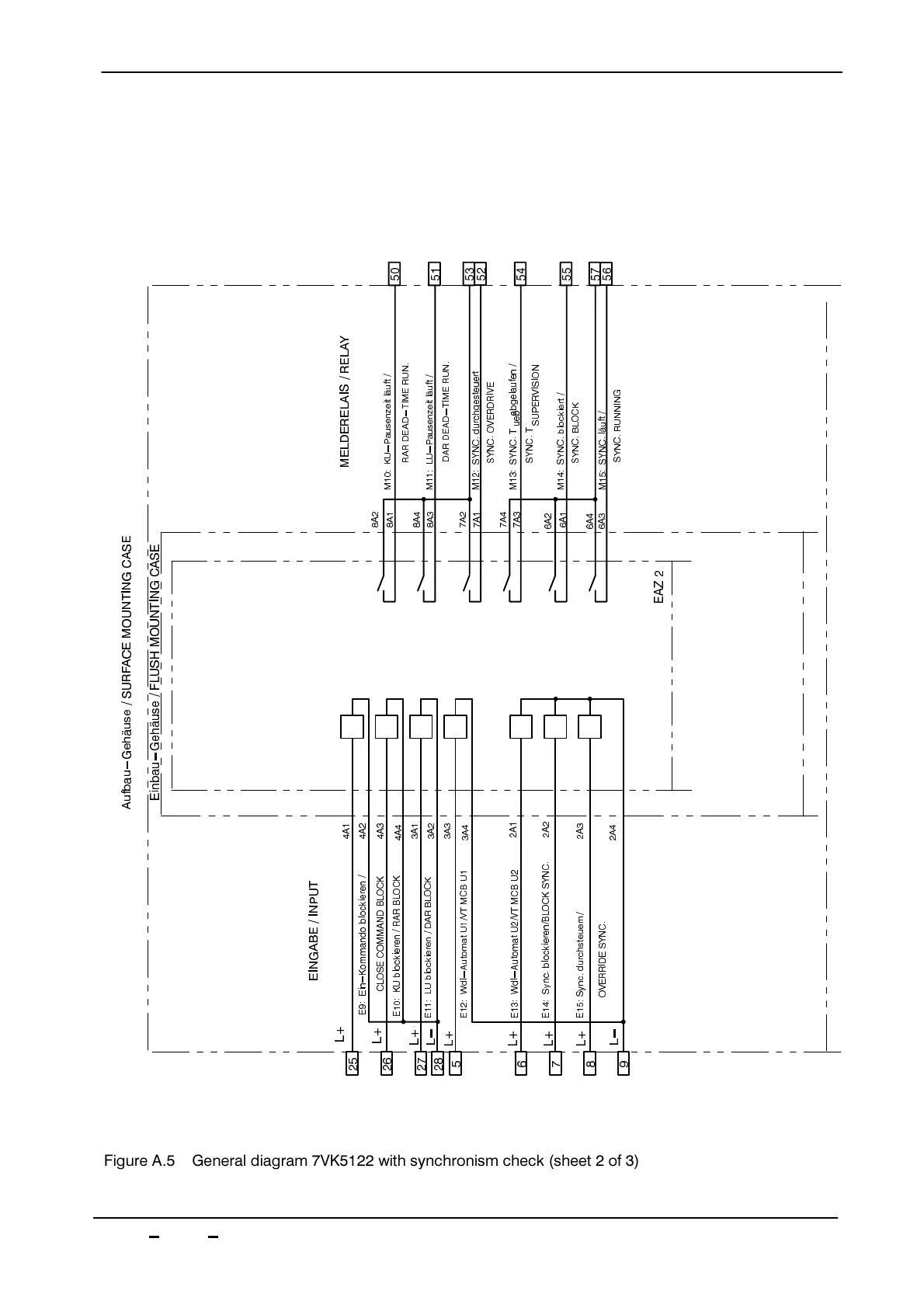
&IGURE ! 'ENERAL DIAGRAM 6+ WITH SYNCHRONISM CHECK SHEET OF 

Table of Contents

Related product manuals