EasyManua.ls Logo

Siemens 7VK512

Siemens 7VK512
132 pages
To Next Page IconTo Next Page
To Next Page IconTo Next Page
To Previous Page IconTo Previous Page
To Previous Page IconTo Previous Page
Loading...
/PERATING INSTRUCTIONS6+
6
#
' #

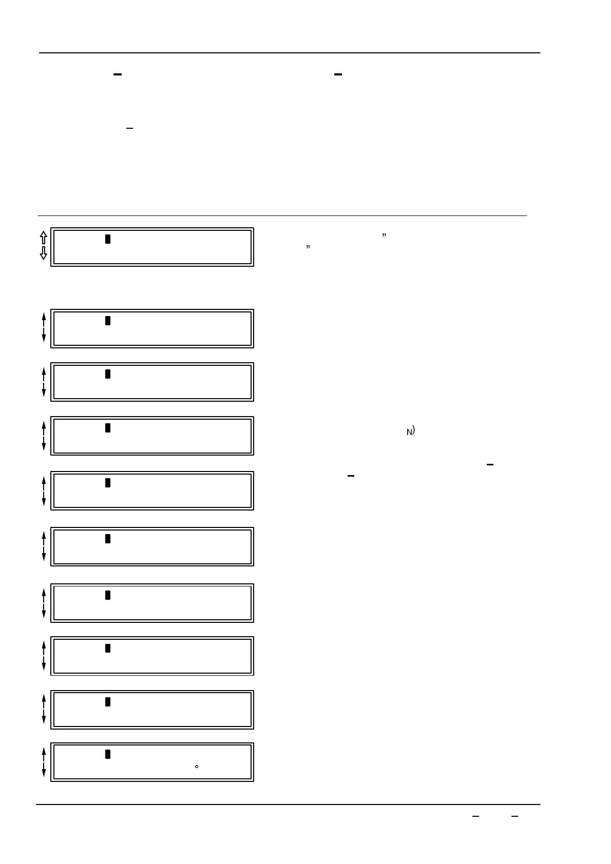
 2EAD OUT OF OPERATIONAL MEASURED VALUES ADDRESS BLOCK 
4HE STEADY STATE RMS OPERATING VALUES CAN BE READ
OUT AT ANY TIME UNDER THE ADDRESS  4HE AD
DRESS CAN BE CALLED
UP DIRECTLY USING $!  %
OR BY PAGING WITH Å OR Ç 4HE INDIVIDUAL MEASURED
VALUES CAN BE FOUND BY FURTHER PAGING WITH ! OR "
%NTRY OF THE CODEWORD IS NOT NECESSARY 4HE VALUES
WILL BE UPDATED IN APPROXIMATELY SECONDS INTER
VALS
4HE DATA ARE DISPLAYED IN PRIMARY AND SECONDARY
VALUES 4O ENSURE CORRECT PRIMARY VALUES THE RATED
DATA MUST BE ENTERED TO THE DEVICE UNDER ADDRESS
BLOCK  AS DESCRIBED IN 3ECTION 
)N THE FOLLOWING EXAMPLE SOME TYPICAL VALUES HAVE
BEEN INSERTED )N PRACTICE THE ACTUAL VALUES APPEAR
6ALUES OUTSIDE THE OPERATION RANGE OF THE RELAY ARE
INDICATED WITH JJJJ
 /0%2!4)/.!,
-%!352%$ 6!,5%3
"EGINNING OF THE BLOCK /PERATIONAL MEASURED
VALUES
5SE ! KEY TO MOVE TO THE NEXT ADDRESS WITH THE NEXT MEASURED VALUE
 -%!36!,5%
5  6
0AGE ON WITH THE ! KEY TO READ OFF THE NEXT ADDRESS
WITH THE NEXT MEASURED VALUE OR PAGE BACK WITH "
/NE ADDRESS IS AVAILABLE FOR EACH MEASURED VALUE
4HE VALUES CAN BE REACHED ALSO BY DIRECT ADDRESSING
USING KEY $! FOLLOWED BY THE ADDRESS NUMBER AND
EXECUTE WITH %
4HE PRIMARY VALUES ADDRESSES  AND  ARE
RELATED TO THE PRIMARY RATED VALUES AS PARAMETERIZED
UNDER ADDRESSES  FOR 5
.
REFER TO 3ECTION

4HE VOLTAGES AND VOLTAGE DIFFERENCE ARE PHASE
PHASE OR PHASE EARTH DEPENDENT OF THE CONNECTED
VOLTAGE
 -%!36!,5%
5  6
 -%!36!,5%
5PRIM K6
 -%!36!,5%
5PRIM K6
 -%!36!,5%
F  (Z
 -%!36!,5%
F  (Z
 -%!36!,5%
D?U  6
 -%!36!,5%
D?F  (Z
 -%!36!,5%
D?PHI 

Table of Contents

Related product manuals