EasyManua.ls Logo

Siemens 7VK512

Siemens 7VK512
132 pages
To Next Page IconTo Next Page
To Next Page IconTo Next Page
To Previous Page IconTo Previous Page
To Previous Page IconTo Previous Page
Loading...
6+
)NSTALLATION INSTRUCTIONS
6

#
' #
 -ARSHALLING OF THE SIGNAL OUTPUT RELAYS ADDRESS BLOCK 
4HE UNIT CONTAINS  SIGNAL OUTPUTS ALARM RELAYS
4HE SIGNAL RELAYS ARE DESIGNATED 3)'.!, 2%,!9
TO 3)'.!, 2%,!9  AND CAN BE MARSHALLED IN AD
DRESS BLOCK  4HE BLOCK IS REACHED BY PAGING IN
BLOCKS WITH ÅÇOR BY DIRECTLY ADDRESSING $!
% 4HE SELECTION PROCEDURE IS CARRIED OUT AS DE
SCRIBED IN 3ECTION  -ULTIPLE ANNUNCIATIONS ARE
POSSIBLE IE ONE LOGICAL ANNUNCIATION FUNCTION CAN
BE GIVEN TO SEVERAL PHYSICAL SIGNAL RELAYS SEE ALSO
3ECTION 
4ABLE  GIVES A LISTING OF ALL ANNUNCIATION FUNCTIONS
WITH THE ASSOCIATED FUNCTION NUMBERS &.O !NNUN
CIATION FUNCTIONS ARE NATURALLY NOT EFFECTIVE WHEN THE
CORRESPONDING PROTECTION FUNCTION IS NOT FITTED IN THE
RELAY OR HAS BEEN PROGRAMMED OUT
DE CONFI
GURED
REFER TO 3ECTION 
4HE ASSIGNMENT OF THE OUTPUT SIGNAL RELAYS AS DELIV
ERED FROM FACTORY IS SHOWN IN THE GENERAL DIAGRAMS
IN !PPENDIX ! 4HE FOLLOWING BOXES SHOW AN EXAM
PLE FOR SIGNAL RELAY  WITH THE GROUP ANNUNCIATION
FOR SEVERAL ANNUNCIATION FUNCTIONS ON ONE SIGNAL
RELAY 4ABLE  SHOWS ALL SIGNAL RELAYS AS PRESET FROM
THE FACTORY
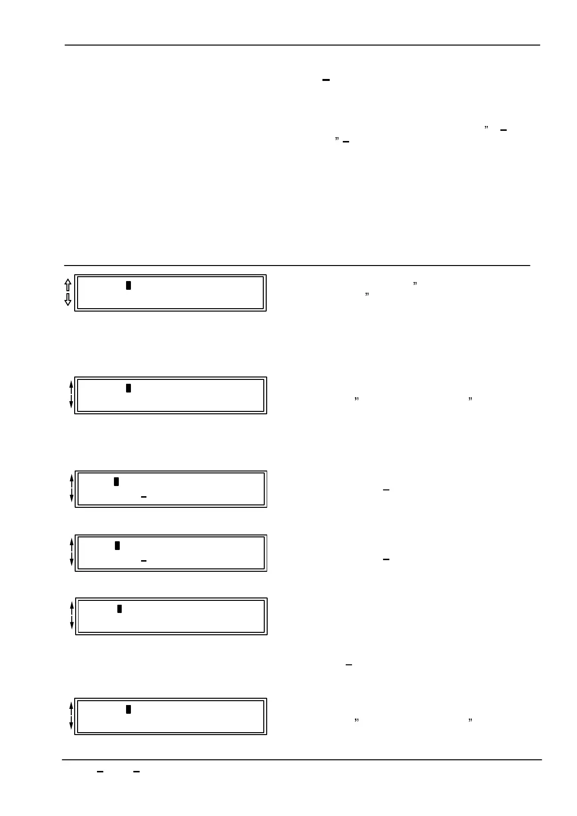
 -!23(!,,).'
3)'.!, 2%,!93
"EGINNING OF THE BLOCK -ARSHALLING OF THE OUTPUT
SIGNAL RELAYS
%G SIGNAL RELAY  IS REACHED WITH THE KEY !
 3)'.!,
2%,!9 
!LLOCATIONS FOR SIGNAL RELAY 
-EANING
2!2 DEAD TIME IS RUNNING
&
#HANGE OVER TO THE SELECTION LEVEL WITH & !
 2%,!9 
2!2 4
P RUN
 2%,!9 
2!2 4
P RUN
3IGNAL RELAY  HAS BEEN PRESET FOR
ST 2!2 SINGLE
POLE DEAD TIME IS RUNNING &.O

3IGNAL RELAY  HAS BEEN PRESET FOR
ND 2!2 THREE
POLE DEAD TIME IS RUNNING &.O

NO FURTHER FUNCTIONS ARE PRESET FOR SIGNAL RELAY 
 2%,!9 
NOT ALLOCATED
!FTER INPUT OF ALL ANNUNCIATION FUNCTIONS FOR SIGNAL RELAY  CHANGE BACK TO THE MARSHALLING LEVEL IS CARRIED OUT
WITH & !
 3)'.!,
2%,!9 
!LLOCATIONS FOR SIGNAL RELAY 
-EANING
2!2 DEAD TIME IS RUNNING

Table of Contents

Related product manuals