EasyManua.ls Logo

Siemens FCI2016-U1 - 1.2 Installation

Siemens FCI2016-U1
46 pages
Print Icon
To Next Page IconTo Next Page
To Next Page IconTo Next Page
To Previous Page IconTo Previous Page
To Previous Page IconTo Previous Page
Loading...
Periphery board (250p) FCI2016
Installation
1
7 |
Building Technologies
A6V10315038_f_en_
--
Siemens Industry, Inc.
2016
-
02
-
1.2 Installation
The chapter describes how to install periphery board (250p) FCI2016 in the fire control
panel and the voice alarm fire control panel.
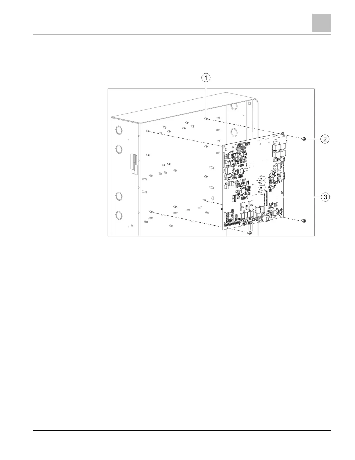
Figure 1: Installing the periphery board (250p)
1 Threaded standoffs on back box
2 12x fixing screw
3 Periphery board (250p)
w The back box is installed.
w The openings for passing through cables have been broken out.
w The power cable is fed through and is disconnected from the power supply.
w The batteries are not installed or connected.
1. Install the periphery board (500p) (3) on the threaded sleeves (1) of the back box
with the 12 fixing screws (2).
2. Wire the periphery board (250p) according to the pin assignments in the following
chapters.
3. Set the jumpers.
4. Re-install any modules that you may have had to remove.

Table of Contents

Related product manuals