EasyManua.ls Logo

Siemens MAG 5100 W - MAG 5000 CT and MAG 6000 CT - Menu Overview

Siemens MAG 5100 W
665 pages
To Next Page IconTo Next Page
To Next Page IconTo Next Page
To Previous Page IconTo Previous Page
To Previous Page IconTo Previous Page
Loading...
65
SITRANS F M
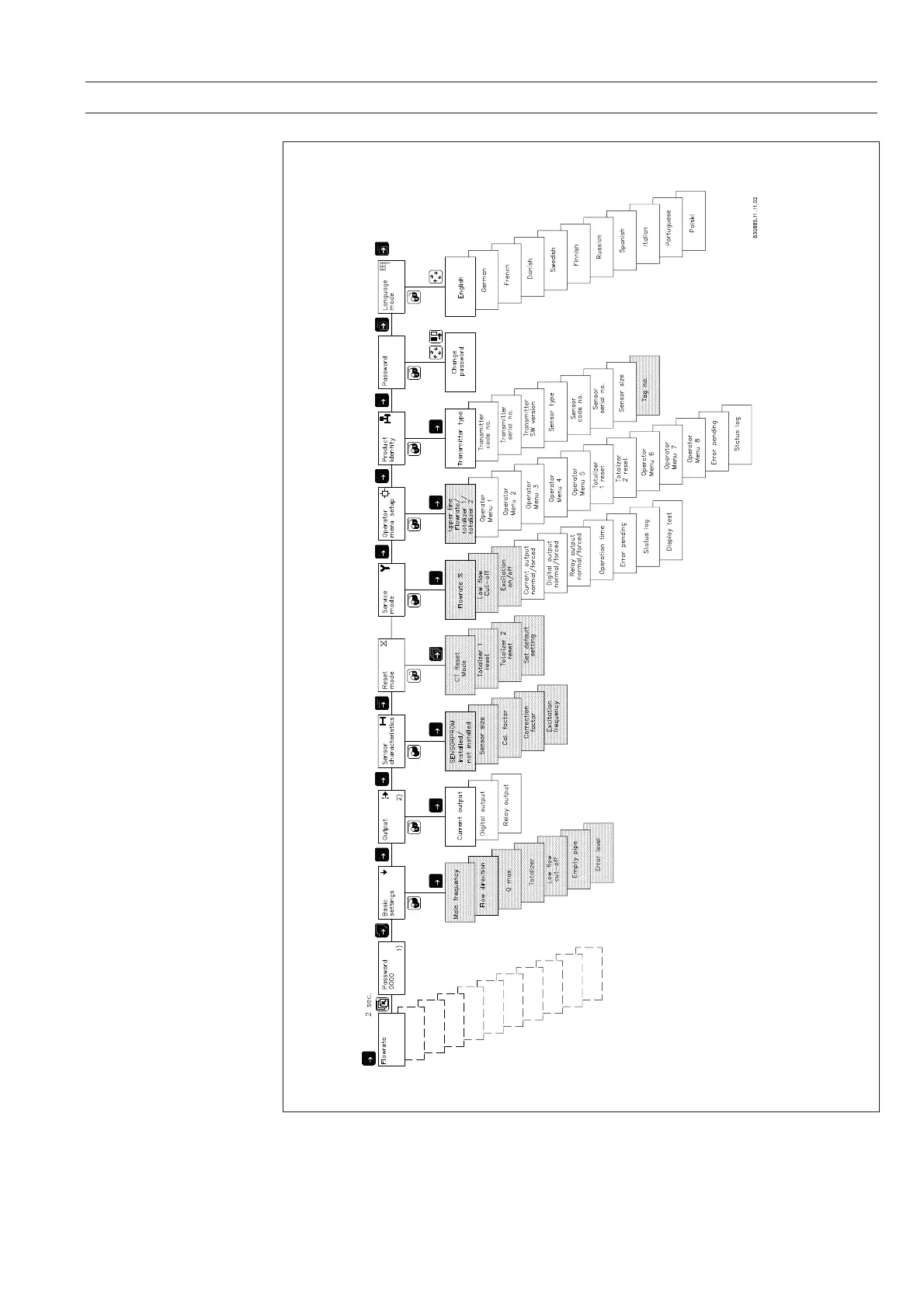
8. Commissioning
8.3.2 MAG 5000 CT and
MAG 6000 CT
Menu overview

Table of Contents

Related product manuals