EasyManua.ls Logo

SMA STRING-COMBINER DC-CMB-U15-16 - 4 Product Description; Combiner Box DC-CMB-U15-16;24;32; Type Label

SMA STRING-COMBINER DC-CMB-U15-16
108 pages
Print Icon
To Next Page IconTo Next Page
To Next Page IconTo Next Page
To Previous Page IconTo Previous Page
To Previous Page IconTo Previous Page
Loading...
10
Installation Manual
SMA Solar Technology AG
DC-CMB-IA-U15-xx-en
4 Product Description
4 Product Description
4.1 Combiner Box DC-CMB-U15-16/24/32
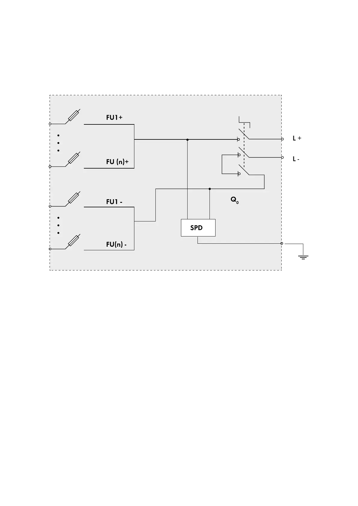
The DC-CMB-U15-16/24/32 Combiner Box is a PV array junction box to which several strings can be connected in
parallel.
Figure 3: Block circuit diagram of the DC-CMB-U15-16/24/32 Combiner Box
The string fuses in the Combiner Box protect the PV modules of the strings from reverse currents.
4.2 Type Label
There is one type label attached to the Combiner Box.
The type label is located inside the right-hand door of the Combiner Box.
You will find the following information on the type label:
• Manufacturer
• Device type and option code
• Serial number
• Device-specific characteristics
You will require the information on the type label to use the product safely and when seeking customer support from the
SMA Service Line. The type label must remain permanently attached to the product.
n= 16 or 24 or 32

Table of Contents