EasyManua.ls Logo

SMA STRING-COMBINER DC-CMB-U15-16 - 4 Produktbeschreibung; Combiner Box DC-CMB-U15-16;24;32; Typenschild

SMA STRING-COMBINER DC-CMB-U15-16
108 pages
Print Icon
To Next Page IconTo Next Page
To Next Page IconTo Next Page
To Previous Page IconTo Previous Page
To Previous Page IconTo Previous Page
Loading...
10
Installationshandbuch
SMA Solar Technology AG
DC-CMB-IA-U15-xx-de
4 Produktbeschreibung
4 Produktbeschreibung
4.1 Combiner Box DC-CMB-U15-16/24/32
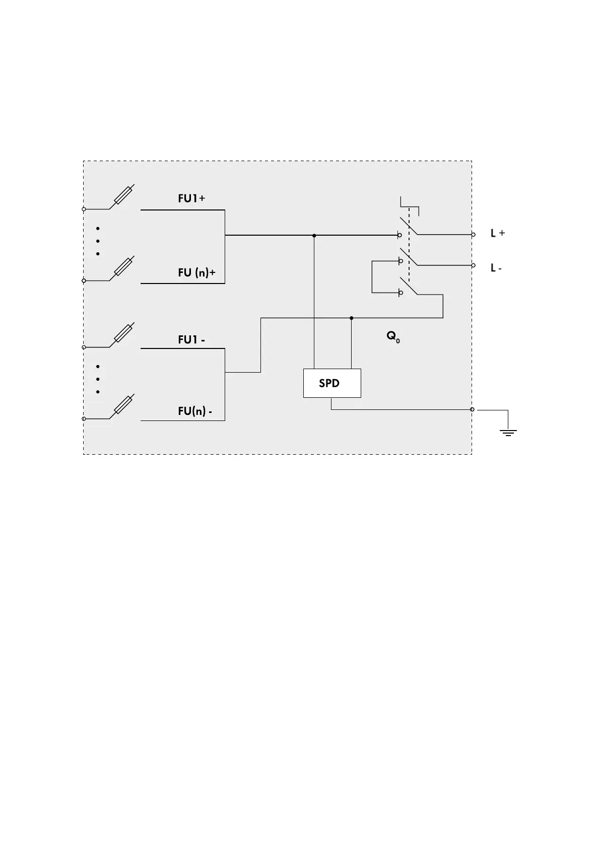
Die DC-CMB-U15-16/24/32 Combiner Box ist ein Anschlusskasten für PV-Anlagen, an die mehrere Stränge parallel
angeschlossen werden können.
Abbildung 3: Blockschaltplan der DC-CMB-U15-16/24/32 Combiner Box.
Die Strangsicherungen in der Combiner Box schützen die PV-Module der Stränge vor Rückstrom.
4.2 Typenschild
An der Combiner Box ist ein Typenschild angebracht.
Das Typenschild befindet sich an der Innenseite der rechten Tür der Combiner Box.
Das Typenschild liefert folgende Informationen:
Hersteller
Gerätetyp und Optionscode
Seriennummer
Gerätespezifische Merkmale
Die Informationen auf dem Typenschild werden zum sicheren Gebrauch des Produkts und Anfragen an den SMA
Kundendienst benötigt. Das Typenschild muss immer am Produkt angebracht bleiben.
n= 16 or 24 or 32

Table of Contents