EasyManua.ls Logo

SMA STRING-COMBINER DC-CMB-U15-16 - 4 Description du Produit; Coffret de Regroupement DC-CMB-U15-16;24;32; Plaque Signalétique

SMA STRING-COMBINER DC-CMB-U15-16
108 pages
Print Icon
To Next Page IconTo Next Page
To Next Page IconTo Next Page
To Previous Page IconTo Previous Page
To Previous Page IconTo Previous Page
Loading...
10
Manuel d’Installation
SMA Solar Technology AG
DC-CMB-IA-U15-xx-fr
4 Description du Produit
4 Description du Produit
4.1 Coffret de Regroupement DC-CMB-U15-16/24/32
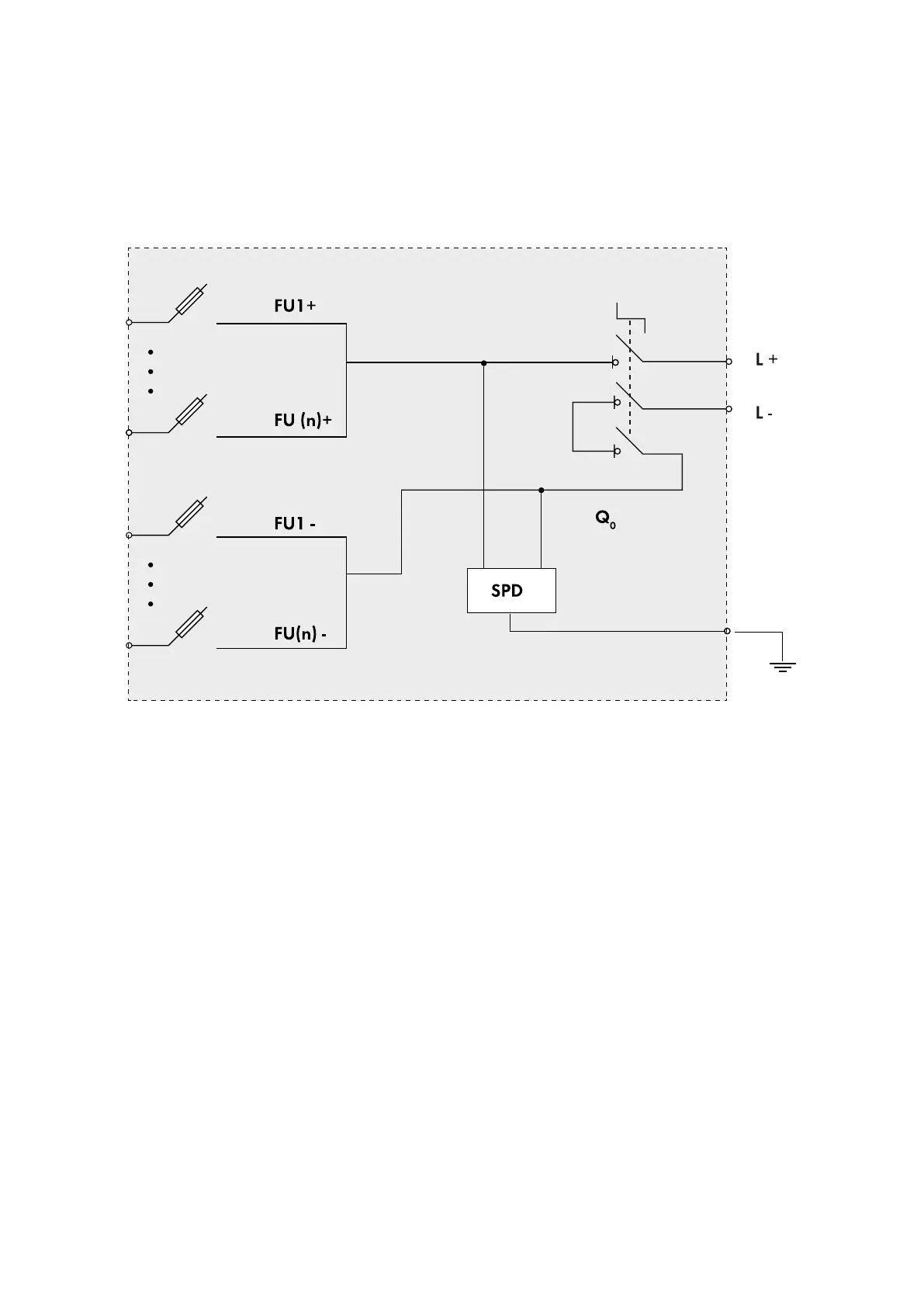
Le Coffret de Regroupement DC-CMB-U15-16/24/32 est une boîte de jonction de groupe photovoltaïque à laquelle
plusieurs chaînes peuvent être branchées en parallèle.
Figure 3 : Schéma synoptique du Coffret de Regroupement DC-CMB-U15-16/24/32.
Les fusibles de chaîne du Coffret de Regroupement protègent les modules PV des chaînes de courants inverses.
4.2 Plaque Signalétique
Il y a une plaque signalétique accompagnant le Coffret de Regroupement. La plaque signalétique est située à l’intérieur
de la porte droite du Coffret de Regroupement. Vous trouverez les informations suivantes sur la plaque signalétique :
Fabricant
Type de dispositif et code option
Numéro de série
Caractéristiques spécifiques du dispositif
Vous aurez besoin des informations de la plaque signalétique pour utiliser le produit en sécurité et lorsque vous
demanderez le support client de la Service Line de SMA. La plaque signalétique doit toujours accompagner le produit.
n= 16 or 24 or 32

Table of Contents