EasyManua.ls Logo

SMC Networks ZK2 Series - Connector Assembly; One-Touch Fitting Assembly; Sound Absorbing Material; Vacuum Port Adapter Assembly

Default Icon
71 pages
To Next Page IconTo Next Page
To Next Page IconTo Next Page
To Previous Page IconTo Previous Page
To Previous Page IconTo Previous Page
Loading...
-32-
No. ZK2-OM00201
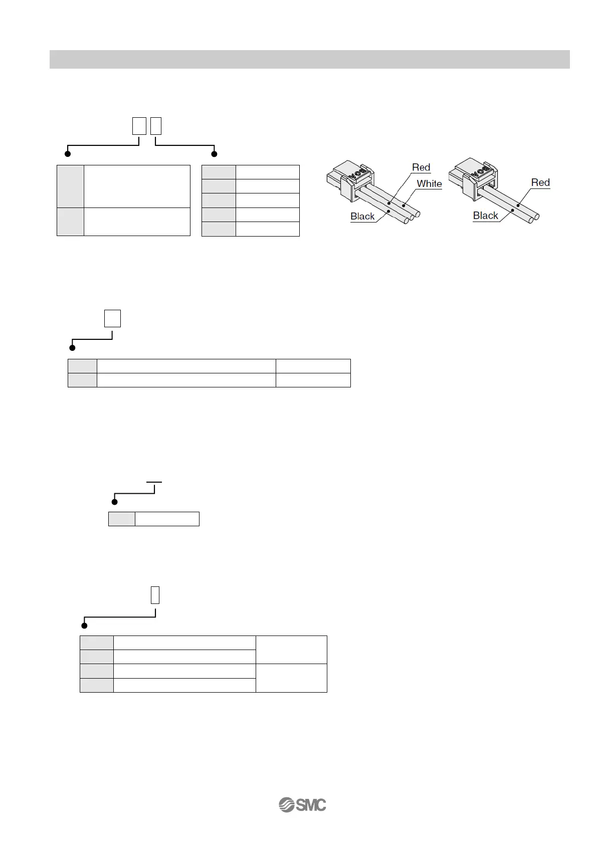
(7) Connector assembly
ZK2 - LV W K - A
(8) One-touch fitting assembly
(Purchasing order is available in units of 10 pieces.)
KJH 06 - C2
(9) Sound absorbing material
(10 pcs. per set)
ZK2 - SE1 - 1 - A
(10) Vacuum port adapter assembly
ZK2 - VA1S 8 - A
Applicable valve type
W
Valve type K, R
(With supply valve
and release valve)
S
Valve type J
(Supply valve only)
Lead wire length
Nil
300 mm
6
600 mm
10
1000 mm
20
2000 mm
30
3000 mm
Port size
06
ø6 One-touch fitting (Straight)
Metric size
07
ø1/4” One-touch fitting (Straight)
Inch size
One-touch fitting size
6
ø6 One-touch fitting
Metric size
8
ø8 One-touch fitting
7
ø1/4 One-touch fitting
Inch size
9
ø5/16 One-touch fitting
Sound absorbing material holes diameter
1
300μm
Valve type: J
Valve type: K, R

Table of Contents

Related product manuals